Реферат: Газохроматографический метод определения загрязненности воздуха
«Газохроматографический метод определения загрязненности воздуха»
Введение
Расширение масштабов производственной деятельности человека приводит к тому, что ее влияние на состояние окружающей среды становится определяющим. Антропогенное воздействие на среду обитания уже носит глобальный планетарный характер, хотя наиболее остро его результаты проявляются в регионах с высокой концентрацией населения, промышленности и т.п., что позволяет говорить об экологическом кризисе этих территорий. Осознание того факта, что качество окружающей среды во многом определяет качество жизни человека, привело к резкому усилению общественного и научного интереса к проблемам экологии и формированию «экологических» направлений в таких науках как химия, физика, биология и т.д. Можно сказать, что экологическое направление научной деятельности имеет в настоящее время (особенно в экономически развитых странах) приоритетный характер. В этой связи встает задача подготовки специалистов, способных ориентироваться в экологических проблемах и участвовать в практической работе по их решению. Такая подготовка не может считаться полной без практического знакомства обучаемых с физико-химическими методами контроля окружающей среды, методикой организации комплексного экологического мониторинга, проведением измерений основных экологических параметров.
Глава 1. Газовая хроматография
Параметры удерживания в газовой хроматографии. Время удерживания и удерживаемый объем
Разделение в хроматографии основано на различной сорбируемости анализируемых соединений при движении их по слою сорбента в колонке. Если соединение не сорбируется, то оно не удерживается сорбентом в колонке и будет выходить из колонки со скоростью потока газа-носителя. Если же вещества сорбируются, то они удержатся в колонке, это будет определяться их сорбционной способностью: чем сильнее сорбция соединения, тем дольше оно будет удерживаться в колонке.

Рис.1. Параметры удерживания
Параметры удерживания, по существу, характеризуют сорбционную способность анализируемых соединений. Различие в сорбируемости в конечном итоге определяется различием межмолекулярных взаимодействий вещество – сорбент.
Время от момента ввода пробы в колонку до выхода максимума пика называется временем удерживания tR (рис. 4.1.1). Оно складывается из двух составляющих: времени нахождения молекул соединения в газовой фазе
и времени нахождения молекул соединения в сорбируемом состоянии
:
.
Время нахождения молекул исследуемого соединения в газовой фазе зависит от доли пустот в насадочной или капиллярной колонке. В разных насадочных колонках плотность набивки может изменяться, будет также изменяться и величина tм, поэтому для характеристики истинной удерживающей способности необходимо определять величину t'R — так называемое приведенное время удерживания:
.
Величину tм определяют по времени выхода несорбируемого соединения (иногда называемого мертвым временем). В газовой хроматографии эту величину определяют по времени выхода гелия или водорода в случае применения детектора по теплопроводности и метана при использовании пламенно-ионизационного детектора.
Приведенное время удерживания зависит от скорости газа-носителя: чем больше скорость газа-носителя, тем меньше время удерживания, поэтому на практике удобнее использовать удерживаемый объем VR — произведение времени удерживания на объемную скорость газа-носителя Fr :
.
Удерживаемый объем — это объем газа-носителя, который необходимо пропустить через хроматографическую колонку, чтобы элюировать данное анализируемое соединение.
Приведенный удерживаемый объем
соответственно равен:
![]()
где Vd — объем пустот в колонке (мертвый объем).
В хроматографе Vd реально складывается из объемов всех пустот в газовом тракте (дозатора, переходных соединений, колонок, детектора).
Объемную скорость газа-носителя чаще всего измеряют на выходе из колонки. Из-за сжимаемости газа-носителя при повышении давления объемная скорость неодинакова по длине колонки. В начале колонки она меньше, чем на выходе, поэтому для определения средней скорости в колонке вводится специальная поправка j, учитывающая перепад давления:
,
где p1 — входное давление, p0— давление на выходе колонки.
Приведенный удерживаемый объем с поправкой на среднее давление называется чистым удерживаемым объемом:
.
Чистый удерживаемый объем можно считать физико-химической константой, так как он не зависит от скорости газа-носителя при постоянной температуре и доли пустот в колонке.
Чистый удерживаемый объем зависит от количества сорбента в колонке, поэтому для точных физико-химических измерений используют понятие удельного удерживаемого объема
. Величина
— это чистый удерживаемый объем, отнесенный к массе сорбента g в колонке или к площади поверхности адсорбента SК при усредненном давлении в хроматографической колонке и температуре T колонки:
;
.
Для особо точных физико-химических измерений вводят поправку на давление пара воды вследствие того, что измерения обычно проводят мыльно-пенным измерителем, а также на разность температур на выходе из колонки и в колонке.
Относительные параметры удерживания
Все рассматриваемые выше параметры удерживания зависят от случайных небольших колебаний параметров опыта, в частности расхода газа-носителя и температуры термостата колонки.
Для исключения этих влияний используют относительные параметры удерживания.
При расчете относительного параметра удерживания (времени или объема) берут отношение чистого объема удерживания исследуемого вещества к чистому объему удерживания стандартного соединения:
;
.

Рис. 2. Оценка асимметричности пиков
В качестве стандартных соединений используют н-алканы, с параметрами удерживания, близкими к параметрам удерживания исследуемого вещества. В этом случае при случайных колебаниях расхода или температуры абсолютные параметры удерживания будут изменяться, а их отношения — практически нет.
В качестве относительного параметра широко используют индекс Ковача:
,
где tn, tn+1 — приведенные времена удерживания н-алканов, с числом атомов углерода в молекуле n и n+1,
— приведенное время удерживания исследуемого соединения.
Индекс Ковача — безразмерная величина и может быть подсчитана с большой точностью, например в капиллярных колонках — до сотых долей процента. Индексы Ковача в первую очередь применяют для идентификации неизвестных веществ (проведение качественного анализа).
Изменения индексов Ковача для соединений, отличающихся природой функциональной группы, используют для оценки межмолекулярных взаимодействий. Индексами удерживания определенного набора стандартных веществ характеризуют полярность неподвижных жидких фаз и адсорбентов (см. Приложение).
1. 1. Основные уравнения в газовой хроматографии
Коэффициент распределения — отношение концентраций исследуемого соединения в неподвижной и подвижной фазах в равновесных условиях:
.
Фазовое отношение — это отношение объемов подвижной и неподвижной фаз в колонке:
.
Фактор удерживания (фактор емкости) — это отношение приведенных времен удерживания к мертвому времени:
.
Фактор разделения — величина, характеризующая селективность разделительной системы, равная отношению факторов удерживания или приведенных времен удерживания двух соседних пиков на хроматограмме:
.
Эффективность колонки — характеристика степени размывания полос в колонке, характеризуется числом теоретических тарелок N или H.
,
где W0,5 — ширина пика на половине высоты.
,
где L — длина колонки; N — безразмерная величина; Н имеет размерность длины обычно в мм.
Разрешение Rs — это отношение расстояния между максимумами исследуемых соседних пиков к сумме их полуширин, выраженных в одних и тех же единицах измерения:
.
Связь степени разрешения с фактором разделения a, фактором удерживания k и эффективностью N:
.
Число тарелок, необходимое для полного разделения при Rs = 1:
,
при k > 10 это уравнение можно упростить:
.
Определение различий свободных энергий сорбции двух соседних компонентов:
.
Связь удерживаемого объема с температурой колонки
.
График зависимости lgVR от обратной температуры (1/Т) — прямая линия, тангенс угла наклона которой равен:
; ![]()
т.о., из наклона прямой температурной зависимости удерживаемого объема можно определить теплоту сорбции.
Влияние экспериментальных параметров на хроматографическое разделение (на величины a, R и N)
Влияние природы сорбента. Природа сорбента играет решающую роль в разделении компонентов. Разделение происходит за счет различий межмолекулярных взаимодействий разделяемых молекул с сорбентом. Селективность разделения определяется природой сорбента. В большинстве случаев селективность разделения (величина a ) уменьшается с повышением температуры.
Длина колонки . Степень разделения пропорциональна квадратному корню от длины колонки. Эффективность прямо пропорциональна длине колонки.
Сечение колонки. С уменьшением сечения колонки (диаметра) возрастает эффективность и степень разрешения колонки.
Размер зерен сорбента. Размывание хроматографических полос, эффективность в значительной степени зависят от размера зерен сорбента. Вихревая диффузия и внешний массообмен сильно зависят от диаметра зерен сорбента.
Толщина жидкой пленки на носителе. С увеличением толщины пленки жидкой фазы (в случае газо-жидкостной хроматографии) увеличиваются времена удерживания, затрудняется внутренний массообмен и уменьшается эффективность
,
где Vd — мертвый объем, K — коэффициент распределения, Vж — объем жидкой фазы.
Природа газа-носителя. В газовой хроматографии при небольших давлениях инертные газы-носители практически не адсорбируются, особенно в газо-жидкостной хроматографии. Поэтому природа газа-носителя практически не влияет на селективность разделения, за исключением некоторых случаев в газо-адсорбционной хроматографии при разделении газов на активных тонкопористых адсорбентах. Природа газа-носителя влияет на эффективность колонок особенно при высоких скоростях. Сопротивление колонки, перепад давления в ней определяется вязкостью газа-носителя.
Давление газа-носителя. В большинстве случаев на входе в колонку используют избыточное давление в пределах от 0,1 до 2 атм (в очень редких случаях выше). Изменение давления в этих пределах практически не влияет ни на селективность, ни на эффективность разделения. В ряде работ применялись пониженные давления на выходе из колонки, т.е. вакуумная хроматография для разделения малолетучих высококипящих соединений. Описаны варианты газовой хроматографии при повышенных давлениях. При повышении давления возрастает сорбция газа-носителя и уменьшается сорбция разделяемых соединений, особенно если в качестве подвижной фазы используются пары жидкостей, в частности воды. Парофазная хроматография расширяет аналитические возможности газовой хроматографии.
Размер пробы. Размер введенной пробы анализируемой смеси должен быть таким, чтобы не вызывать перегрузку колонки. При введении пробы больше максимально допустимой изменяются времена удерживания. Особенно важно не перегружать капиллярную колонку, так как ее эффективность сильно падает с перегрузкой.
Способ дозирования. Пробу можно ввести быстро, в виде узкой полосы или медленно, в виде разбавленной полосы. Первый способ введения — «метод поршня» — идеальный, второй — «способ экспоненциального разбавления» может приводить к дополнительному размыванию полосы. Способ дозирования в реальных случаях занимает промежуточное состояние между этими крайними случаями. В общем случае ширина дозируемой пробы должна быть значительно меньше ширины полосы вещества, получаемого на выходе из колонки.
Чувствительность, линейность, инерционность и стабильность детектора. Назначение детектора — регистрация выходных кривых в виде сигналов (пиков) достаточной амплитуды, необходимых для количественных измерений. Для точных количественных измерений необходимо, чтобы
· детектор не искажал истинную форму полосы, образующейся на слое сорбента, другими словами, детектор должен быть малоинерционен, постоянная времени — небольшой;
· показания детектора были пропорциональны концентрации или количеству дозируемых веществ, т.е. детектор должен обладать достаточно широкой областью линейности;
· запись сигнала была устойчивой, не должно быть флуктуации нулевой линии или же монотонного смещения нулевой линии в течение длительного времени (дрейфа нулевой линии).
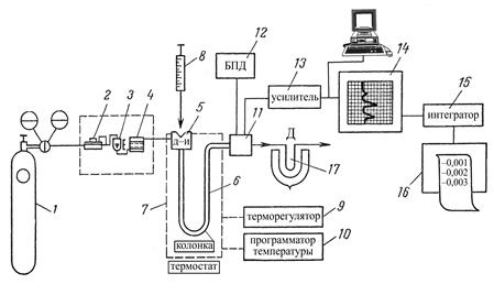
1. 2. Аппаратура для газовой хроматографии. Функциональная схема газового хроматографа
В аналитических хроматографах используют проявительный вариант хроматографии, в этом случае газ-носитель непрерывно продувается через хроматографическую колонку. Расход газа-носителя создается за счет перепада давления на входе и выходе колонки.

Рис. 3. Функциональная схема газового хроматографа
Схема современного газового хроматографа изображена на рис. 3. Для создания перепада давления через колонку хроматограф подсоединяют к источнику со сжатым газом 1 (баллонная или лабораторная линия со сжатым газом). Через колонку поток газа-носителя должен проходить с постоянной и определенной скоростью, поэтому на входе в колонку на линии газа-носителя устанавливают регулятор и стабилизатор расхода газа-носителя 2 и измеритель расхода газа 3. Если газ-носитель загрязнен нежелательными примесями, то в этом случае устанавливается еще фильтр 4. Таким образом, на входе в колонку подключается ряд устройств, часто объединяемых в один блок (блок подготовки газа), назначение которого — установка, стабилизация, измерение и очистка потока газа-носителя. Перед входом в колонку устанавливается устройство для ввода анализируемой пробы в колонку — дозатор-испаритель 5. Обычно анализируемую пробу вводят микрошприцем 8 через самозатекающее термостойкое резиновое уплотнение в дозаторе, газовые пробы вводят дозирующим шестиходовым краном.
Анализируемая проба, введенная в дозатор, захватывается потоком газа-носителя (если анализируемая проба — жидкость, то она предварительно переходит в дозаторе-испарителе в парообразное состояние) и направляется в хроматографическую колонку 6. За счет различной сорбируемости компоненты смеси будут с разной скоростью продвигаться по колонке. Вещества, которые сорбируются слабо, будут продвигаться по колонке с большей скоростью и выходить первыми. Сильносорбируемые вещества будут продвигаться по колонке медленнее.
Если выбран достаточно селективный сорбент и подобраны оптимальные условия, то на выходе колонки компоненты смеси будут полностью разделены. Детектор 11 зарегистрирует присутствие разделенных компонентов в газе-носителе. Эти сигналы в случае необходимости усиливаются (усилитель 13) и регистрируются на шкале вторичного самопишущего прибора 14 или дисплея ПЭВМ в виде выходных кривых (или пиков). Для обеспечения стабильного режима работы детектора используется блок питания детектора 12.
Сорбируемость веществ зависит от температуры. Для исключения влияния колебания температуры на результаты разделения, колонку помещают в специальную камеру-термостат, температура которой устанавливается и поддерживается терморегулятором 9. В случае необходимости температура колонки в процессе разделения может изменяться по определенной программе с помощью блока программирования температуры 10.
Высота или площадь пика пропорциональны количеству или концентрации компонента в смеси. Площадь пика может быть измерена с помощью электронного интегратора 15 или ПЭВМ. Значения площадей пиков могут быть отпечатаны на бумажном носителе.
Таким образом, перед хроматографическим анализом необходимо провести следующие операции на приборе:
· открыть вентиль баллона со сжатым газом и установить по манометру или специальному измерителю определенный расход газа-носителя;
· включить питание детектора;
· установить необходимую температуру в термостате колонок;
· включить самопишущий прибор, интегратор или ПЭВМ, после выхода прибора на устойчивый режим (через 30–60 мин.) микрошприцем отобрать и ввести в дозатор-испаритель анализируемую пробу.
Все дальнейшие операции проходят без участия оператора: компоненты пробы разделяются на колонке, регистрируются в детекторе, записываются на диаграммной ленте вторичного прибора, интегратор или ПЭВМ определяет площадь пика, а в случае применения ПЭВМ с принтером можно сразу получить полный протокол — хроматограмму с распечатанной рядом таблицей концентраций разделенных компонентов.
Элементы блока подготовки газов
Как было указано выше, назначение блока подготовки газов (БПГ) или системы подготовки газов — очистка, установка, регулировка стабилизация и измерение газовых потоков: газа-носителя, воздуха, водорода и других дополнительных газовых потоков. Поддержание стабильного потока газа-носителя важно для получения воспроизводимых значений параметров удерживания и параметров пиков. Колебания расходов газа-носителя влияют на шумы (флуктуации) детектирующих систем.
Основные элементы БПГ: дроссель, регулятор давления и регулятор расхода.
Дроссель изменяет расход газа путем изменения сопротивления канала, по которому проходит газ.
Регулятор давления стабилизирует давление на входе в колонку при возможных внешних колебаниях давления газа. Специальная мембрана в регуляторе давления воспринимает изменение давления газа и передает соответствующее смещение исполнительному механизму.
В режиме программирования температуры термостата сопротивление колонки повышается, а расход падает. В этом случае для сохранения постоянного расхода в колонке используется регулятор расхода. При падении расхода в связи с увеличением сопротивления в колонке регулятор расхода повышает входное давление настолько, чтобы восстановился первоначальный расход газа-носителя. Расход газов измеряют мыльно-пенным измерителем, реометром, ротаметром или специальным электронным измерителем расхода на принципе теплового расходомера. Фильтры для очистки газа-носителя заполняют адсорбентами (активированный уголь, силикагель, цеолит).
В современных хроматографах используются БПГ с электронным заданием и управлением расходов газов.
Дозирующие устройства (дозаторы)
Дозаторы предназначены для ввода в хроматографическую колонку точно выбранного количества анализируемой пробы. Общие требования к дозаторам: воспроизводимость ввода пробы (желательно ниже 1–2%), сохранение состава исходной анализируемой пробы. Кроме того, ввод пробы должен происходить быстро, без сильного размывания исходной смеси. Различают дозаторы для ввода газообразных, жидких и твердых проб. Для быстрого ввода газообразных проб используют микрошприцы, мембранные краны (чаще всего в автоматических промышленных хроматографах), золотниковые, поршневые и вращающиеся поворотные краны. В современных лабораторных хроматографах чаще всего применяются поворотные краны. Такой кран состоит из неподвижного корпуса со штуцерами для подвода газа-носителя и анализируемого газа и сверху движущейся поворотной втулки с каналами, соединяющими линии газа-носителя и анализируемого газа. На корпусе устанавливается трубка-доза для точного ввода пробы. Корпус и вращающаяся втулка сильно прижаты друг к другу, их контактирующие поверхности тщательно отполированы и при повороте должны плавно скользить относительно друг друга. Такие краны могут быть 6, 8, 10 и даже 14-ходовые (или портовые). Чаще всего для дозирования применяются 6-ходовые краны. Схема ввода газовой пробы таким краном показана на рис. 4. Поворот крана может проводиться вручную или автоматически, электрическим или пневматическим приводом. При изготовлении крана используются следующие материалы: нержавеющая сталь, хостеллой, тефлон, наполненный тефлон, веспел и др.

Рис. 4. Ввод краном: а — заполнение пробоотборной петли крана пробой S; б — ввод пробы в потоке газа-носителя G
![]()
Рис. 5. Шприц
Жидкие пробы вводятся в газовые хроматографы микрошприцами на 1, 5, 10, 50 мкл через термостойкое резиновое уплотнение испарителя. Величина дозируемой пробы легко регулируется в широких диапазонах. Общий вид таких микрошприцев изображен на рис. 5. Эти шприцы сравнительно недороги и удобны для очистки.
Для автоматического ввода жидких проб применяют специальные поршневые, вращающиеся и золотниковые дозирующие краны. В поршневом кране движущийся поршень имеет сбоку кольцевую канавку, глубина которой определяет объем введенной пробы. Поршень двигается между полостью, промываемой непрерывным потоком анализируемого вещества, и нагретым испарителем.
Твердые пробы в основном вводят в пиролизных устройствах через специальные шлюзы.
1. 3 Детекторы для газовой хроматографии
Всего для газовой хроматографии предложено более 60 типов детектирующих систем. По общепринятой классификации детекторы подразделяются на дифференциальные и интегральные по форме зарегистрированного сигнала. Дифференциальные детекторы измеряют мгновенное различие в концентрации вещества в потоке газа-носителя. Хроматограмма, зарегистрированная таким детектором, представляет собой ряд пиков, площадь которых пропорциональна количеству разделенных соединений. Интегральные детекторы измеряют суммарные количества соединений, выходящих из колонки. Хроматограмма в этом случае ступенчатая, высота ступеней пропорциональна количеству соответствующих соединений.
В зависимости от однократной или многократной регистрации молекул анализируемых соединений выделяют концентрационные и потоковые детекторы. В концентрационных детекторах сигнал пропорционален концентрации соединения в подвижной фазе (элюенте). Здесь имеет место многократная регистрация молекул анализируемых соединений. В потоковых (или массовых) детекторах сигнал пропорционален количеству пробы компонента, достигаемому ячейки детектора в единицу времени. В этом случае происходит только однократная регистрация.
По селективности детекторы классифицируются на универсальные, селективные и специфические. В универсальных детекторах регистрируются все компоненты смеси, выходящие из колонки, за исключением подвижной фазы. Селективные детекторы регистрируют определенные группы соединений на выходе из колонки. Специфические детекторы регистрируют только один компонент или ограниченное число компонентов с подобными химическими характеристиками.
Основные технические характеристики детекторов:
· чувствительность или предел детектирования;
· линейность (динамический диапазон);
· инерционность (постоянная времени, быстродействие);
· стабильность (уровень шума и дрейфа);
· величина эффективного объема чувствительной ячейки.
Чувствительность концентрационных детекторов Ак определяется следующим выражением:
,
где Sп — площадь пика, см2; V — шкала самописца, мВ × cм–1; Fr — скорость газа-носителя, мл × с–1; q — масса соединения, мг; F — скорость движения ленты самописца, см × с.
Размерность чувствительности в этом случае мВ · мг × мл–1 .
Чувствительность потоковых детекторов (мВ · мг × с-1 ) равна:
.
В последние годы чаще всего определяют предел детектирования. Для оценки минимально обнаруживаемой концентрации необходимо, кроме чувствительности, знать уровень флуктуаций (шума) нулевой линии. Минимальным сигналом, поддающимся измерению, обычно принято считать сигнал, высота которого в несколько раз (2–5) превышает уровень шумов d :
.
Величина сmin — предел детектирования — определяет предельные возможности прибора.
Под линейностью детекторов понимают диапазон концентраций, в пределах которых наблюдается линейность зависимости сигнал – концентрация. Для определения величины линейности строят соответствующий график. Обычно диапазон линейности расположен от предела детектирования до концентраций, в которых уже наблюдается отклонение от линейности на 5–10%.
Под инерционностью (быстродействием, постоянной времени) подразумевается скорость реагирования детектора на быстрое изменение концентрации на выходе из колонки. Детектор должен иметь такое быстродействие, чтобы при регистрации не искажать формы полосы соединения, выходящего из колонки. В современных, особенно ионизационных детекторах постоянная времени — менее 0,1–0,01 с. В некоторых катарометрах, чаще всего устаревших конструкций, постоянная времени может составлять около 1 с и даже выше.
Быстродействие сильно зависит от величины эффективного объема ячейки.
Уровень шума нулевого сигнала детектора определяется кратковременными флуктуациями. Дрейф — это монотонное смещение нулевой линии. Величину смещения оценивают в течение 1 часа. Обычно требования к этим показателям таковы: шум 0,5% рабочей шкалы и дрейф не более 3% в час.
В табл. 1 приведены технические характеристики детекторов, применяемых в современных газовых хроматографах.
Таблица 1
Технические характеристики наиболее часто применяемых детекторов для ГХ
| Детектор | Предел детектирования ( S / N = 2) | Линейный динамический дапазон | Тип | Анализируемые соединения |
| ПИД | 5 · 10–12 гс × c–1 | 107 | Селектив. | Регистрирует органические соединения, ионизируемые в пламени водорода |
| ДТП | 4 · 10–1 г × мл–1 | 106 | Универс. | Регистрирует все соединения, отличающиеся по теплопроводности от газа-носителя |
| ЭЗД | 1 · 10–14 г × с–1 | 103 –104 | Селектив. | Регистрирует в основном галогенорганические соединения |
| ФИД | 2 · 10–12 г × с–1 | 107 | То же | Регистрирует все соединения за счет УФ-излучений с потенциалом ионизации менее 10,7 эВ или 11,7 эВ |
| ТИД | 4 · 10–13 г(N) × с–1 2 · 10–13 г(P) × с–1 | 104 | То же | Селективно определяет гетеросоединения, имеющие атомы N и P в молекуле |
| ПФД | 2 · 10–11 г(S) × с–1 9 · 10–13 г(P) × с–1 | 103 104 | Специф. | Специфичен к S- и P- содержащим соединениям |
| АЭД | 1 · 10–13 2 · 10–11 г × с–1 | 104 | Универс. | Регистрирует все соединения, имеющие в своем составе 12 основных элементов (H, C, S, N, P и др.) |
| МСД | 1 · 10–11 г × с–1 1 · 10–9 г × с–1 | 105 | Универс. | Регистрирует все соединения и может по масс-спектрам идентифицировать соединение |
Механизм работы детекторов
Пламенноионизационный детектор (ПИД) основан на ионизации органических соединений в пламени водорода. Точный механизм ионизации не выяснен. С использованием масс-спектрометрометрии проведено исследование и обнаружено, что механизм ионообразования связан с термодеструкцией и последующей хемоионизацией.
В ПИД одним из электродов служит горелка, второй электрод — коллектор — располагается над горелкой. Малые токи (1 · 10–9 –10–12 А) усиливаются, т.к. шумы самого детектора малы. Из-за высокой чувствительности, большого диапазона линейности ПИД стал наиболее распространенным детектором. В табл. 2 приведены атомные инкременты для показаний ПИД к соединениям разных классов.
Таблица .2
Атомные инкременты для показания ПИД
| Атом | Тип атома | Вклад в общий сигнал (эффективное углеродное число) |
| С | Алифатический | 1 |
| С | Ароматический | 1 |
| С | Олефиновый | 0,95 |
| С | Ацетиленовый | 1,30 |
| С | Карбонильный | |
| С | Нитрильный | 0,30 |
| О | Простой эфир | –1 |
| О | Первичный спирт | –0,60 |
| О | Вторичный спирт | –0,75 |
| О | Третичный спирт | –0,25 |
| Cl | У алифатического углерода | –0,12 |
| Cl | У атома углерода при двойной связи | +0,05 |
Детектор по теплопроводности (ДТП) — катарометр
Чувствительными элементами в ДТП являются нагретые нити (филаменты) из ряда металлов (платина, вольфрам, сплав вольфрам-рений и др.), помещенные в специальные камеры, продуваемые газом-носителем. Филаменты включены в плечи моста Уинстона. Через сравнительную камеру проходит поток чистого газа-носителя, через рабочую камеру — газ-носитель с примесями разделяемых соединений. Сопротивление нитей зависит от температуры. При изменении состава газа в рабочей камере теплопроводность его изменяется, изменяется теплопередача от нити к стенкам камеры, температура нити и, следовательно, сопротивление нити по сравнению с сопротивлением нити в сравнительной камере. Происходит разбаланс моста, возникает сигнал на нулевой линии. В табл. 3 приведены значения теплопроводности газов-носителей и некоторых органических веществ.
Таблица 3
Значения теплопроводимостей некоторых газов и паров
| Соединение | Теплопроводность при 100 °С · 103 Вт · (м · К)–1 | Теплопроводность по отношению к гелию, % |
| Водород | 223,6 | 128 |
| Гелий | 174,2 | 100 |
| Азот | 31,4 | 18,0 |
| Диоксид углерода | 22,2 | 12,7 |
| Аргон | 21,8 | 12,5 |
| Этан | 30,6 | 17,5 |
| Бутан | 23,4 | 13,5 |
| Нонан | 18,8 | 10,8 |
| Бензол | 17,2 | 9,9 |
| Ацетон | 16,7 | 9,6 |
| Этанол | 22,2 | 12,7 |
| Этилацетат | 17,2 | 9,9 |
| Хлороформ | 10,5 | 6,0 |
| Метилиодид | 7,9 | 4,6 |
Электронно-захватный детектор (ЭЗД)
ЭЗД предназначен для анализа веществ, обладающих электронным сродством, в частности галогенно-органических соединений. Полезный сигнал детектора — это уменьшение начального тока, однозначно связанного с количеством анализируемого соединения.
В ионизационной камере ЭЗД помещается радиоактивный источник (например, 63 Ni). Под воздействием радиации молекулы газа-носителя (азот, аргон, гелий) ионизируются с высвобождением электрона:
N2
+ e.
В камере между электродами приложено напряжение, фоновый ток создается в основном электронами, т.к. их подвижность на три порядка выше, чем подвижность ионов. Кроме того, большая часть ионов рекомбинирует, не доходя до электродов. При попадании в ячейку детектора соединений, обладающих сродством по отношению к электрону, происходит захват ими свободных электронов:
М + е М–,
что приводит к снижению начального фонового тока.
ЭЗД обладает высокой ионизационной эффективностью. В газе-носителе недопустимо присутствие кислорода, влаги и др. соединений, снижающих количество электронов или их подвижность.
Предел детектирования ЭЗД на два-три порядка ниже ПИД, он сильно зависит от числа и положения атомов галогенов в молекулах. В табл. 4 приведены данные по относительной чувствительности (относительно хлорметана) ЭЗД к некоторым соединениям.
Таблица 4
Относительная чувствительность ЭЗД к некоторым соединениям
| Соединения | Относительная чувствительность | Соединения | Относительная чувствительность |
| Хлорметан | 1 | Фторбензол | 0,3 |
| Дихлорметан | 11 | Хлорбензол | 10 |
| Хлороформ | 4 · 105 | Бромбензол | 10 |
| Четыреххлористый углерод | 5 · 106 | Иодбензол | 3 · 104 |
Термоионный детектор (ТИД)
ТИД селективен к N- и P-содержащим соединениям за счет введения в пламя водорода паров солей щелочных металлов (К, Na, Rb и Cs). Скорость введения паров щелочных металлов должна быть стабилизирована. ТИД чувствителен к стабильности поддержания скорости водорода, воздуха и газа-носителя. Селективность ТИД к N- и P- органическим соединениям по сравнению с ПИД — порядка 102 –103 .
Пламенно-фотометрический детектор (ПФД)
ПДФ селективен к S- и P-содержащим соединениям, при сжигании которых в пламени, обогащенном водородом, по сравнению с ПИДом, излучаемый свет от этих элементов направляется в фотоумножитель через специальные фильтры (394 нм для S и 526 нм для Р).
Особенности детектора:
· чувствительность ПФД к S-и Р-содержащим соединениям тем больше, чем выше содержание этих элементов в соединениях;
· сигнал к Р-содержащим соединениям пропорционален концентрации этого вещества в газе-носителе;
· сигнал к S-содержащим соединениям пропорционален логарифму потока вещества.
Фотоионизационный детектор (ФИД)
В ФИДе ионизация анализируемых соединений происходит за счет УФ-излучения в специальной камере с двумя электродами. При фотоионизации молекулы анализируемых соединений диссоциируются на ион и электрон:
А + h A+ + е–.
Образуемые ионы собираются электродами. Ионизируются только те соединения, потенциал которых ниже энергии фотонов. В зависимости от лампы энергия фотонов может быть 9,5; 10,2 и 11,7 эВ.
ФИД как и ПИД обладает высокой чувствительностью ко всем органическим соединениям. К ароматическим соединениям ФИД имеет в 10–50 раз большую чувствительность, чем ПИД.
В отличие от ПИД, ФИД может регистрировать H2 S, PH3, NH3, AsH3 и
Колонки для газовых хроматографов
Колонки в газовой хроматографии подразделяются на насадочные (НК): препаративные, аналитические, микронасадочные и капиллярные (КК). В табл. 5 приведены характеристики этих колонок.
Таблица 5
Характеристики колонок для газовых хроматографов
| Типы колонок | Внутренний диаметр колонок, мм | Длина колонки, м |
| Препаративные насадочные | Более 4 | 0,5–2 |
| Аналитические насадочные | 2–4 | 0,2–6 |
| Микронасадочные | 0,5–1 | 0,5–3 |
| Капиллярные | 0,2–0,3 | 5–100 |
| Узкие капиллярные | 0,05–0,2 | 5–100 |
| Капиллярные широкого диаметра | 0,3–0,8 | 10–60 |
| Поликапиллярные | 0,04 | 0,2; 1 |
В насадочных, микронасадочных колонках сорбент находится внутри трубки и имеет форму цилиндра. Набивка должна быть плотной и однородной, без пустот. Чем плотнее и однороднее набивка, тем меньше размывание полос и больше эффективность колонки.
В КК слой сорбентов наносится на внутреннюю поверхность капилляра в виде слоя жидкой неподвижной фазы или в виде слоя адсорбента.
На рис. 6 изображены разные типы колонок.
По форме НК бывают прямые, U-образные, W-образные и спиральные с разным радиусом кривизны.

Рис. 6. Типы колонок
Прямые и U-образные НК легко и наиболее плотно заполняются сорбентом без специальных приспособлений. W-образные и спиральные колонки заполняют под давлением на входе, либо с вакуумом на выходе из колонки.
На спиральных колонках при большом радиусе кривизны витков появляется дополнительное размывание, связанное с неоднородностью скоростей по сечению. Сопротивление потоку у ближней (к центру окружности) стенки трубки меньше, чем у дальней, так как пути прохождения газовых потоков у ближней стенки меньше.
Колонки изготавливаются из металла (нержавеющая сталь, никель, медь), стекла, тефлона и других материалов. Чаще всего в аналитической практике применяются колонки из нержавеющей стали (для особо агрессивных смесей — колонки из никеля). Для разделения неустойчивых соединений (каталитически разлагающихся при контакте с металлической поверхностью) используют стеклянные и тефлоновые колонки; в частности, стеклянные колонки широко применяются при анализе пестицидов.
КК изготавливались из нержавеющей стали, меди и латуни, затем начали использовать стекло (была предложена специальная лабораторная установка для вытягивания капилляров из толстостенной стеклянной трубки с внешним диаметром 6–10 мм). Позднее (с 1980 г.) начали применять кварцевые КК, которые имеют наиболее инертную поверхность. Кварцевые капилляры для придания гибкости и прочности с внешней поверхности покрываются тонким слоем высокотемпературного полиамидного лака (до 350 °С) или слоем алюминия. Кварцевые КК со слоем лака допускают изгиб до 8–10 мм. В последние годы вновь появился интерес к металлическим КК, но с инертной (пассивированной) внутренней поверхностью.
1. 4. Основные типы газовых хроматографов
В табл. 6 приведены основные типы газовых хроматографов, выпускаемых серийно.
Среди хроматографов разных типов отметим газовые хроматографы с масс-спектрометрическим и инфракрасными детекторами, а также газовые анализаторы, под которыми обычно понимаются газовые хроматографы, укомплектованные для решения конкретных аналитических задач «под ключ», т.е. оснащенные специальными колонками, аттестованной методикой и стандартами для градуировки. Иногда приборы такого типа называют газохроматографическими комплексами [4].
Таблица 6 Основные типы газовых хроматографов
| Типы хроматографов | Назначение |
| Лабораторные | Работают в стационарном режиме в лабораториях разного профиля |
| Промышленные (хроматографы на потоке) | Применяются для контроля производственных процессов в автоматическом режиме. Чаще всего имеют взрывобезопасное исполнение |
| Портативные | |
| Малогабаритные | Для передвижных и стационарных лабораторий. Экономия средств, энергии, места, расходных материалов при сохранении аналитических характеристик. Вес 10–25 кг |
| Портативные, транспортируемые, полевые | Для анализа на месте расположения обследуемого объекта. Оперативность анализа, автономность по электрическому и газовому питанию. Вес 5–15 кг |
| Микрохроматографы (кремниевая технология), переносные, персональные, карманные | Для оперативных относительно простых аналитических задач. Полная автономность. Ограниченные аналитические возможности. Вес 0,2–3 кг |
| Специальные микрохроматографы | Для космических исследований. Автоматизация анализа, малая масса, устойчивость к ударам и тряске |
| Препаративные | С широкими колонками для выделения веществ в чистом виде |
В табл. 7 приведен перечень лабораторных газовых хроматографов, выпускаемых в нашей стране, характеристики основных лабораторных газовых хроматографов зарубежных фирм рассмотрены в [3].
Таблица 7
Отечественные лабораторные газовые хроматографы
| Название модели | Фирма, город | Детекторы | Термостаты | Отличительные особенности |
| 1.Кристалл-2000М | ЗАО СКБ «Хроматэк» г. Йошкар-Ола | ПИД, ЭЗД, ПФД, ДТП, ФИД, ТИД | 40–400 °С, изотермич. + программир. | Блочное исполнение детекторов; термостат 6 л для многоколоночных систем недостаточен |
| 2. Кристалл-5000 | То же | То же | То же | Термостат увеличен до 9 л |
| 3. Цвет-800 | ОАО «Цвет» г. Дзержинск | То же | 50–400 °С | Большой объем термостата — 22 л |
| 4.Кристал-люкс-4000 | НПФ «Мета-Хром» г. Йошкар-Ола | То же | То же | Блочное исполнение детекторов |
| 5. ЛХМ-2000 | «Милаб» г. Москва | ПИД, ДТП, ЭЗД, ТИД | 50–400 °С | Разработан на базе старой модели 3700 |
| 6. Кристалл 2000 | ФГУП «Купол» г. Ижевск | ПИД, ДТП, ПФД, ЭЗД, ТИД, ФИД | 40–400 °С | Устаревшая конструкция по сравнению с Кристалл-2000М |
| 7. Хромос ГХ-1000 | ЗАО «Химаналитсервис» г. Дзержинск | ПИД, ЭЗД, ТИД, ДТП | 50–450 °С | На базе Цвет 500, снятого с производства. Все узлы и блоки заимствованы |
| 8. ГАЛС-311 | НПФ АП «Люмэкс» г. Санкт-Петербург | ПИД, ЭЗД, ДТП, ПФД, ТИД | 50–399 °С | Прибор на базе модели 4890 (Hewlett Packard, КНР) |
| 9. Цвет Яуза Т | НПО «Химавтома-тика» г. Москва | ПИД, ДТП, ФИД | 50–400 °С изотермич. | Надежный специализированный хроматограф для технологического контроля |
| 10. Цвет Яуза, модель 100 | НПО «Химавтома-тика» г. Москва | ПИД, ДТП, ДЭЗ, ТИД, ПФД, ФИД | 50–400 °С изотермич. + программир. | Универсальный хроматограф |
Дополнительные устройства для газовой хроматографии
Криогенное устройство — система термостатирования колонок (диапазон температур: от комнатных до –100 °С) для разделения трудно разделяемых газовых смесей. Для этих целей используется жидкий азот из сосуда Дьюара.
Система обратной продувки: шестиходовый кран-дозатор и четырехходовый кран, — включает обратную продувку колонки для быстрого элюирования суммы тяжелых компонентов, в частности, при определении природного газа С1 – С5 и S С6 .
Обогатительные устройства для концентрирования тяжелых примесей из газовых потоков с последующей десорбцией и дозирования в аналитическую колонку. Концентрирование примесей происходит в охлаждаемой небольшой обогатительной колонке. После обогащения десорбция производится специальной разогретой печкой.
Криофокусирующее устройство позволяет концентрировать примеси в начале охлажденной капиллярной колонки. Сильносорбируемые высококипящие соединения удерживаются на начальном участке колонки, а газ-носитель и легкие соединения проходят через колонку, не сорбируясь. После окончания процесса концентрирования происходит быстрый нагрев (тепловой удар) для того, чтобы при десорбции проба не размывалась, но вводилась в колонку в виде узкой полосы с десорбированными сконцентрированными компонентами.
Устройство для концентрирования методом выдувания и накопления (purge and trap) предназначено для выдувания из загрязненных вод летучих и малолетучих примесей и накопления их на специальной адсорбционной ловушке с последующей тепловой десорбцией и переводом в хроматографическую колонку.
Устройство парофазного концентрирования (head-space) позволяет повысить чувствительность определения легкокипящих соединений, растворенных в воде, имеющих коэффициенты распределения менее 10. Эти устройства позволяют также извлекать и дозировать легкие анализируемые соединения из биологических проб, из твердых материалов (пород, почв, полимерных материалов и др.).
Устройство пиролизное. Пиролизная газовая хроматография применяется для анализа нелетучих высокотемпературных соединений (полимеров, каучуков, смол, олигомеров, биополимеров и др.) по продуктам их разложения в инертной среде (пиролиз).
Пиролиз проводят с помощью обычного термического нагрева, высокочастотного нагрева (до точки Кюри), лазерного разогрева и разряда. Устройство для пиролиза изготавливается в виде приставки к стандартным газовым хроматографам, которые включают вместо узла ввода пробы или параллельно ему. Пиролизные устройства бывают трех типов: филаментного, печного и высокочастотного с ферромагнитными держателями. Различают мягкий пиролиз до 500 °С, в основном для биологических объектов (бактерий, белков, крахмала и др); средний пиролиз при 500–800 °С для исследования полимеров; жесткий пиролиз при 800–1100 °С, полимеры разрушаются на небольшие фрагменты, образуется много продуктов разложения.
Автоматические дозирующие устройства (автосамплеры). Автосамплер включает от 8 до 120 стеклянных пробирок с пробами, которые подаются к месту отбора и дозирования по специальной программе. Кроме пробирок с пробами, имеются пробирки с промывочными растворителями для промывки дозирующего узла после ввода анализируемой пробы. Последовательность операций задается и контролируется микропроцессорным блоком управления и может быть откорректирована под конкретные задачи.
Метанатор. В некоторых аналитических задачах чувствительность детектора по теплопроводности недостаточна для определения СО и СО2. В этих случаях проводят конверсию СО и СО2 до метана в специальной трубке с Ni-катализатором в потоке водорода после разделения СО и СО2 на хроматографической колонке. Получаемые пики метана регистрируют ионизационно-пламенным детектором на уровне < 10–4 %.
Прочие устройства. В составе газовых хроматографов применяют иногда измерители потоков, разные интерфейсы (ГХ-МС, ГХ-ИКС, ЖХ-ГХ и др.), генераторы водорода, азота, сверхчистого воздуха, фильтры-очистители газов.
ГЛАВА 2. СОВРЕМЕННЫЕ ГАЗОАНАЛИЗАТОРЫ И ИХ ИСПОЛЬЗОВАНИЕ В ОПРЕДЕЛЕНИИ ЗАГРЯЗНЕННОСТИ ПОМЕЩЕНИЙ
Газоанализатор КОЛИОН-1В применяется для определения загрязненности воздуха рабочей зоны на предприятиях лакокрасочной, химической, нефтехимической, нефтеперерабатывающей промышленности, пищевой промышленности, на предприятиях по хранению и транспортировке нефти и нефтепродуктов, а также в помещениях химчисток, при проведении покрасочных работ, в вагонных депо и пр.
Газоанализатор КОЛИОН-1В обеспечивает измерение концентрации веществ во всем диапазоне, подлежащем контролю согласно требованиям пожарной безопасности и санитарным нормам, действующим на предприятиях. Газоанализатор КОЛИОН-1В позволяет выявить источники загрязнений, дать рекомендации по расположению рабочих мест и установке вентиляционной системы.
Следует иметь в виду, что газоанализатор не предназначен для измерения концентрации загрязнителей на уровне ПДК атмосферного воздуха или санитарно-защитной зоны, поскольку эти значения ниже предела измерений газоанализаторов КОЛИОН-1В.
Измерение содержания в воздухе паров углеводородов нефти и нефтепродуктов .В соответствии с требованиями охраны труда и пожарной безопасности во избежание несчастных случаев на предприятиях по транспортировке и хранению нефти и нефтепродуктов необходимо контролировать содержание паров этих веществ в воздухе. Измерения концентрации паров углеводородов нефти и нефтепродуктов следует проводить в резервуарах для их транспортировки и хранения, при зачистке и перед проведением огневых работ, в помещениях насосных по перекачке легковоспламеняющихся нефтепродуктов и пр.
Диапазон контролируемых концентраций очень широк: от долей ПДК воздуха рабочей зоны (ПДК бензина — 100 мг/м3, других нефтепродуктов и углеводородов нефти — 300 мг/м3) до 5% НКПР (примерно 2000 мг/м3) — предельно допустимой взрывобезопасной концентрации горючих веществ (ПДВК), выше которой огневые работы запрещены.Долгое время для контроля санитарных норм вышеперечисленных веществ применялись газоанализаторы УГ-2, основанные на использовании одноразовых индикаторных трубок, довзрывные концентрации измерялись (и измеряются) термокаталитическими газоанализаторами. Время одного измерения для газоанализатора УГ-2 составляет около 3 минут. Изменение цвета индикаторной трубки определяется визуально, то есть на результат измерения в значительной мере влияет человеческий фактор. Термокаталитические датчики “отравляются” сернистыми, хлорсодержащими соединениями и тетраэтилсвинцом, часто встречающимися в нефти и нефтепродуктах.
Газоанализатор КОЛИОН-1В позволяет контролировать как санитарные нормы, так и выдавать разрешение на ведение огневых работ.По сравнению с другими приборами, используемыми для контроля соблюдения пожарных требований и санитарных норм, (в том числе и фотоионизационными газоанализаторами другого типа) газоанализатор КОЛИОН-1В обладает следующими преимуществами:1. детектор прибора не “отравляется” тетраэтилсвинцом и сернистыми соединениями, сохраняет стабильную работу после значительных концентрационных перегрузок;
2. измеряемая концентрация регистрируется в числовом виде на индикаторе;3. высокая чувствительность и быстродействие позволяют определять места утечек;4. при работе прибор не требует использования расходуемых материалов и дополнительных газов;
5. поверка прибора производится с использованием поверочной газовой смеси этилен/воздух в баллонах по давлением и может быть легко проведена региональными органами на местах;
6. влажность измеряемого воздуха не влияет на результаты измерений. Газоанализатор градуируется по бензину, при измерении концентрации бензина показания индикатора соответствуют измеряемой концентрации. При измерении концентрации других нефтепродуктов и нефти для расчета концентрации используются коэффициенты пересчета, приведенные в РЭ. Полученные значения концентраций сравниваются с ПДК или ПДВК. Для измерения содержания паров загрязнителя внутри резервуара следует использовать удлинитель пробоотборника. При этом необходимо учитывать, что удлинение пробоотборной трубки приводит к увеличению времени установления показаний. При длине пробоотборной трубки 10 м время установления показаний составляет примерно 60 секунд.Следует иметь в виду, что газоанализатор измеряет текущее значение концентрации. В зависимости от условий на объекте (например, ветер, вентиляция и пр.), где проводятся замеры, концентрация паров загрязнителя в воздухе за время проведения измерения может изменяться в широком интервале значений, что проявляется в изменении показаний газоанализатора. В этом случае следует зафиксировать максимальное значение концентрации, полученное за время измерения в данной точке.
ФИД газоанализатора чувствителен ко всем углеводородам нефти, кроме метана и этана. Эти газы содержатся в большом количестве только в местах добычи нефти в попутном газе. В условиях нефтяного промысла газоанализатор может использоваться только для контроля содержания паров стабилизированной нефти. Пары нефти, перекачиваемой по магистральным нефтепроводам, и нефтепродукты содержат следовые количества метана и этана, что существенно не влияет на получаемые результаты измерений газоанализатора КОЛИОН-1В и позволяет использовать прибор на всех предприятиях нефтепродуктообеспечения.
Измерение содержания пропана в воздухе
Газоанализатор КОЛИОН-1В может использоваться на газоперерабатывающих заводах и газозаправочных станциях для измерения содержания пропана и пропан-бутановой смеси в воздухе. Чувствительность прибора к этим компонентам очень высока, что делает возможным контроль концентраций на уровне долей ПДК воздуха рабочей зоны (для пропана ПДК воздуха рабочей зоны — 300 мг/м3). Прибор в этом случае градуируется по пропану. Для определения пропана в ФИД газоанализатора используется источник ВУФ-излучения с энергией 11,8 эВ. Срок службы этого источника зависит от условий применения и составляет несколько сотен часов.
Измерение содержания этанола и других спиртов Газоанализатор КОЛИОН-1В может использоваться для определения содержания в воздухе этанола (или других спиртов, например, н- и изо-пропанолов, бутанолов и т. д.) в помещениях цехов, а также при зачистке технологических емкостей и перед проведением огневых работ. Чувствительность прибора позволяет проводить измерения концентраций на уровне долей ПДК воздуха рабочей зоны (для этанола ПДК воздуха рабочей зоны — 1000 мг/м3, пропанолов – 10 мг/м3, бутанолов – 10 мг/м3). Прибор в этом случае градуируется по этанолу или другому спирту, концентрацию которого необходимо измерить.
Измерение содержания метанола и формальдегида в воздухе. Газоанализатор КОЛИОН-1В может использоваться для определения содержания метанола и формальдегида в воздухе. Для определения этих компонентов в ФИД газоанализатора устанавливается источник ВУФ-излучения с энергией 11,8 эВ. Срок службы этого источника зависит от условий применения и составляет несколько сотен часов.
Измерение загрязненности воздуха органическими растворителями . Газоанализатор КОЛИОН-1В может использоваться в лакокрасочной промышленности и при покрасочных работах для определения уровня загрязненности воздуха органическими растворителями.
Газоанализатор измеряет суммарное содержание загрязнителей в анализируемом воздухе.
Если качественный состав смеси неизвестен, то газоанализатор позволяет определить места повышенного содержания загрязнителей, оценить эффективность работы вентиляционной системы, выявить застойные зоны, оптимальным образом расположить рабочие места.Если качественный состав смеси загрязнителей известен, обычно считается, что компонентом, определяющим уровень опасности, является вещество с минимальным значением ПДК рабочей зоны (или ПДВК, если речь идет о разрешении на проведение огневых работ). Помимо ПДК необходимо учитывать соотношение содержания компонентов в загрязняющей смеси, поскольку соединение с большим значением ПДК может присутствовать в большем количестве. Если соотношение компонентов смеси неизвестно, то, используя показания и соответствующие значения коэффициентов пересчета, следует рассчитать концентрацию каждого компонента так, как если бы он присутствовал один, полученные значения сравнить с пороговыми. Дополнительный анализ необходим только для компонентов, измеренная концентрация которых выше ПДК. Например, необходимо определить соответствие уровня загрязненности лакокрасочного цехе санитарным нормам. В состав используемого растворителя входят ацетон (ПДК рабочей зоны 200 мг/м3), н-бутилацетат (ПДК рабочей зоны 200 мг/м3), ксилол (ПДК рабочей зоны 50 мг/м3), этанол (ПДК рабочей зоны 1000 мг/м3). При градуировке по бензолу коэффициенты пересчета для этих соединений равны: для ацетона 1,8, для н-бутилацетата – 6.1, для ксилола – 0,95 и для этанола – 10,0. Значение суммарной концентрации загрязнителей в воздухе по показаниям газоанализатора составляет 43 мг/м3. Тогда концентрации отдельных загрязнителей (рассчитываются путем умножения показаний газоанализатора на соответствующий коэффициент пересчета) составляют: для ацетона – 77 мг/м3, для н-бутилацетата – 262 мг/м3, для ксилола — 41 мг/м3, для спирта – 430 мг/м3. Превышение ПДК получено только для н- бутилацетата, и таким образом только содержание одного компонента нужно определять дополнительно, например, с помощью индикаторной трубки. Измерение содержания в воздухе три — и тетрахлорэтилена Три — и тетрахлорэтилен (перхлорэтилен) используются в процессе химической чистки одежды. ПДК для этих соединений в воздухе составляет 10 мг/м3. Чувствительность газоанализатора КОЛИОН-1 позволяет проводить измерение концентрации этих компонентов на уровне долей ПДК. Для определения концентрации соединений показания газоанализатора умножаются на соответствующие коэффициенты пересчета, приведенные в РЭ.
Измерение содержания аммиака в воздухе Аммиак широко используется в качестве хладагента в холодильных цехах пищевых предприятий. Определение аммиака обычно проводится с использованием фотометрии или ионометрии. Анализу предшествует специальная пробоподготовка.
Высокая чувствительность газоанализатора КОЛИОН-1В позволяет измерять с его помощью концентрацию аммиака в воздухе на уровне долей ПДК рабочей зоны (20 мг/м3). Прибор в этом случае градуируется по аммиаку
Измерение содержания сероуглерода в воздухе Сероуглерод является основным загрязнителем воздуха предприятий, производящих химическое волокно. Обычно для анализа сероуглерода используются фотометрический или газохроматографический методы анализа, для которых необходимы специальная пробоподготовка и лабораторное оборудование.
Благодаря высокой чувствительности, газоанализатор КОЛИОН-1В может использоваться для экпресс-измерения концентрации сероуглерода в воздухе на уровне ПДК рабочей зоны (10 мг/м3) без применения пробоотбора, расходуемых материалов и лабораторных средств анализа.
Обнаружения вредных выделений из строительных и отделочных материалов
Материалы, используемые для строительства и отделки жилых помещений и офисов, очень часто являются источниками вредных веществ, присутствие которых в воздухе недопустимо. К сожалению, обычно это становится очевидным, когда работы уже закончены, и низкое качество воздуха помещений становится причиной плохого самочувствия находящихся в них людей. В результате приходится производить замену негодных материалов. В этом случае газоанализатор КОЛИОН-1В позволяет установить, какой именно материал является источником загрязнителя, отобрать пробу для более подробного исследования.
Более целесообразно сначала проводить проверку качества строительных материалов. Газоанализатор КОЛИОН-1В имеет высокую чувствительность практически ко всем соединениям, обычно выделяющимся из таких материалов. Следует отметить, что для многих загрязняющих веществ чувствительность газоанализатора выше, чем чувствительность обоняния человека. Таким образом, КОЛИОН-1В позволяет обнаружить выделения летучие соединения даже, если они очень незначительны и материалы «не пахнут». Быстродействие прибора дает возможность проводить такие замеры в течение нескольких минут. Сначала измеряется общее загрязнение воздуха. Затем вход пробоотборной трубки помещается в непосредственной близости от поверхности исследуемого материала. Полученные показания сравниваются с фоновыми значениями концентрации. Превышение показаний газоанализатора, зафиксированных над поверхностью материала, над фоновыми свидетельствует о наличии вредных выделений. Таким образом могут быть обследованы такие материалы, как линолеум, плитка, ковровые покрытия и пр.Проведение предварительного контроля может помочь в выборе качественных строительных материалов и сэкономить время и средства.
Контроль загрязненности воздуха в чрезвычайных ситуациях .
В чрезвычайных ситуациях, связанных с выбросами (или разливами) вредных и ядовитых веществ, а также при их ликвидации, с помощью газоанализатора КОЛИОН-1В можно оценить степень опасности, направление и скорость перемещения загрязнителя в воздухе, уровень загрязнения и глубину проникновения загрязнителя в почву.Если произошел выброс (разлив) одного вещества или смеси веществ известного состава, например, бензина, то значение концентрации, измеренное (или, если газоанализатор отградуирован по другому компоненту, рассчитанное) с помощью газоанализатора КОЛИОН-1В сравнивается с ПДК рабочей зоны бензина.
При выбросах (разливах) неизвестного вещества или смеси веществ на основании показаний газоанализатора можно определить опасность пребывания человека в зоне аварии (если показания превышают 150 – 200 ед.); проследить изменение концентрации во времени; установить области наибольшего загрязнения.
ПЕРЕНОСНЫЕ ДВУХДЕТЕКТОРНЫЕ АЗОАНАЛИЗАТОРЫКОЛИОН-1В-02, КОЛИОН-1В-03, КОЛИОН-1В-04
В двухдетекторных газоанализаторах используются ФИД и электрохимический сенсор. ФИД дает возможность использовать приборы для решения всех задач, перечисленных в главе, посвященной применению газоанализатора КОЛИОН-1В. Электрохимический сенсор позволяет проводить селективное измерение оксида углерода (КОЛИОН-1В-02), сероводорода (КОЛИОН-1В-03), диоксида азота (КОЛИОН-1В-04) в присутствии других компонентов.
СТАЦИОНАРНЫЙ ГАЗОАНАЛИЗАТОР КОЛИОН-1А-01С УСТРОЙСТВО И РЕКОМЕНДАЦИИ ПО УСТАНОВКЕ
Газоанализатор устанавливается в помещении, вне взрывоопасной зоны. Место пробоотбора соединяется с газоанализатором при помощи газоподводящей линии (так называемый метод удаленного пробоотбора). Для транспортировки анализируемого воздуха в газоанализаторе имеется побудитель расхода, обеспечивающий расход до 2 л/мин. На входе газоанализатора установлен огнепреградитель, а на выходе – поглотитель измеряемых компонентов, предотвращающий попадание измеряемого компонента в помещение, где установлен газоанализатор.Газоанализатор может использоваться для одновременного контроля в двух точках.Текущее значение измеряемой концентрации в мг/м3 выводится на индикатор. Газоанализатор снабжен световой сигнализацией (2 или 3 порога), имеет встроенные реле (2 или 3 в зависимости от числа порогов срабатывания сигнализации) для приведения в действие внешних устройств. Градуировка газоанализатора производится по измеряемому веществу по согласованию с заказчиком.
Конструкция газоанализатора предназначена для настенного монтажа. При установке газоанализатора и прокладке газоподводящих линий следует соблюдать требования, изложенные в «Методических указаниях по установке сигнализаторов и газоанализаторов контроля довзрывоопасных и предельно допустимых концентраций химических веществ в воздухе производственных помещений» ВСН 64-86 (МУ).
Согласно п. 2.15 МУ, газоподводящие линии к датчику следует выполнять из труб с внутренним диаметром от 6 до 12 мм. В месте отбора проб они должны заканчиваться обращенными вниз воронками высотой от 100 до 150 мм и диаметром от 50 до 100 мм. В тоже время в соответствии с п. 2.16 МУ время запаздывания поступления пробы к датчику за счет газоподводящих линий должно быть минимальным и не превышать 60 секунд. Таким образом, для соблюдения требования п. 2.16 объем газоподводящих линий, соединяющих точку отбора пробы с газоанализатором, не должен превышать 2 л. То есть при диаметре трубы 6 мм ее длина не должна быть больше 70 м, при диаметре трубы 8 мм – 40 м, при диаметре 10 – 25 м и т. д.
При контроле содержания загрязнителей на уровне ПДК воздуха рабочей зоны точки пробоотбора должны находиться на высоте до 2 м над уровнем пола или площадки (п. 2.14 МУ).
При контроле довзрывоопасных концентраций точки пробоотбора следует размещать в соответствии с плотностями газов и паров (п. 2.12 МУ): при выделении газов и паров с плотностью относительно воздуха менее 1,0 – на высоте от 0,5 до 0,7 м над источником; при выделении газов и паров с плотностью относительно воздуха от 1,0 до 1,5 – на высоте источника или ниже его не более чем на 0,7 м; при выделении газов и паров с плотностью относительно воздуха более 1,5 – не более 0,5 м над полом.
Измерение содержания сероуглерода в воздухе Сероуглерод представляет собой чрезвычайно токсичное (ПДК воздуха рабочей зоны 10 мг/м3) и взрывоопасное (температурный класс Т6) вещество. В связи с этим к приборам, используемым для контроля сероуглерода, предъявляются высокие требования по чувствительности и степени взрывозащиты, что приводит к повышению их стоимости. Поэтому использование для такого контроля газоанализатора КОЛИОН-1А-01С с удаленным пробоотбором, при котором газоанализатор устанавливается вне взрывоопасной зоны и соединяется с местом пробоотбора с помощью газовой линии, позволяет решить проблему взрывозащиты без больших материальных затрат. Кроме того, обслуживание газоанализатора и замена элементов может производиться заказчиком самостоятельно, лицензия Госгортехнадзора на проведение ремонта не требуется. Градуировка и поверка прибора может производиться на месте. 1-ый порог срабатывания сигнализации при контроле сероуглерода устанавливается на уровне 10 мг/м3, 2-ой – в диапазоне до 2000 мг/м3.
МНОГОКАНАЛЬНЫЕ СТАЦИОНАРНЫЕ ГАЗОАНАЛИЗАТОРЫ ОКСИДА УГЛЕРОДА ЭССА
Контроль содержания оксида углерода в воздухе рабочей зоны Газоанализаторы предназначены для непрерывного измерения содержания оксида углерода в воздухе рабочей зоны (в помещениях котельных, ТЭЦ, гаражах и пр.); сигнализации о превышении заданных уровней концентрации; управления вторичными устройствами: вентиляцией, световой и звуковой сигнализацией и пр.
Газоанализаторы выполнены в соответствии с требованиями Инструкции по контролю за содержанием окиси углерода в помещениях котельных РД 12-341-00.
Измерение концентрации оксида углерода производится устанавливаемыми в контролируемой зоне измерительными преобразователями (могут размещаться во взрывоопасных зонах В-1а, В-1б, В-1г). Блок сигнализации обеспечивает электрическое питание измерительных преобразователей, световую и звуковую сигнализацию и выдачу управляющих релейных сигналов на вторичные исполнительные устройства. Измерительные преобразователи и блок сигнализации соединены двужильным экранированным кабелем. Тип кабеля МКЭШ, толщина жил от 0,35 мм до 1 мм. При сопротивлении жил кабеля не более 100 Ом, максимальная длина кабеля может достигать 1000 м. Газоанализатор работает от сети переменного тока напряжением 220 В, 50 Гц. Потребляемая мощность не более 2 Вт/канал.
Блок сигнализации и измерительные преобразователи выполнены для настенного монтажа. Исполнение блока сигнализации и измерительных преобразователей по степени защиты от пыли и влаги — IP54. Газоанализатор может иметь от 1 до 16 измерительных каналов и два порога срабатывания сигнализации (20 мг/м3 и 100 мг/м3). Газоанализатор имеет также одноканальное моноблочное исполнение. В моноблочном исполнении газоанализатора функции измерительного преобразователя и блока сигнализации объединены в одном блоке, конструкция которого предназначена для настенного монтажа
МНОГОКАНАЛЬНЫЕ СТАЦИОНАРНЫЕ ГАЗОАНАЛИЗАТОРЫ СЕРОВОДОРОДА ЭССА
Контроль содержания сероводорода в воздухе рабочей зоны. Газоанализаторы предназначены для непрерывного измерения содержания сероводорода в воздухе рабочей зоны; сигнализации о превышении заданных уровней концентрации; управления вторичными устройствами: вентиляцией, световой и звуковой сигнализацией и пр.
Измерение концентрации сероводорода производится устанавливаемыми в контролируемой зоне измерительными преобразователями (могут размещаться во взрывоопасных зонах В-1а, В-1б, В-1г). Блок сигнализации обеспечивает электрическое питание измерительных преобразователей, световую сигнализацию и выдачу управляющих релейных сигналов на вторичные исполнительные устройства. Измерительные преобразователи и блок сигнализации соединены двужильным экранированным кабелем. Тип кабеля МКЭШ, толщина жил от 0,35 мм до 1 мм. При сопротивлении жил кабеля не более 100 Ом, максимальная длина кабеля может достигать 1000 м. Газоанализатор работает от сети переменного тока напряжением 220 В, 50 Гц. Потребляемая мощность не более 2 Вт/канал.
Блок сигнализации и измерительные преобразователи выполнены для настенного монтажа. Исполнение блока сигнализации и измерительных преобразователей по степени защиты от пыли и влаги — IP54. Газоанализатор может иметь от 1 до 16 измерительных каналов и два порога срабатывания сигнализации (10 мг/м3 и 30 мг/м3).
МНОГОКАНАЛЬНЫЕ СТАЦИОНАРНЫЕ ГАЗОАНАЛИЗАТОРЫХЛОРА ЭССА
Контроль содержания хлора в воздухе рабочей зоны. Газоанализаторы предназначены для непрерывного измерения содержания хлора в воздухе рабочей зоны; сигнализации о превышении заданных уровней концентрации; управления вторичными устройствами: вентиляцией, световой и звуковой сигнализацией и пр.
Измерение концентрации хлора производится устанавливаемыми в контролируемой зоне измерительными преобразователями (могут размещаться во взрывоопасных зонах В-1а, В-1б, В-1г). Блок сигнализации обеспечивает электрическое питание измерительных преобразователей, световую сигнализацию и выдачу управляющих релейных сигналов на вторичные исполнительные устройства. Измерительные преобразователи и блок сигнализации соединены двужильным экранированным кабелем. Тип кабеля МКЭШ, толщина жил от 0,35 мм до 1 мм. При сопротивлении жил кабеля не более 100 Ом, максимальная длина кабеля может достигать 1000 м. Газоанализатор работает от сети переменного тока напряжением 220 В, 50 Гц. Потребляемая мощность не более 2 Вт/канал. Блок сигнализации и измерительные преобразователи выполнены для настенного монтажа. Исполнение блока сигнализации и измерительных преобразователей по степени защиты от пыли и влаги — IP54. Газоанализатор может иметь от 1 до 16 измерительных каналов и два порога срабатывания сигнализации (1 мг/м3, 3 мг/м3 или 10 и 30 мг/м3).
МНОГОКАНАЛЬНЫЕ СТАЦИОНАРНЫЕ ГАЗОАНАЛИЗАТОРЫ ОЗОНА ГОЗОН
Контроль содержания озона в воздухе рабочей зоны. Газоанализаторы предназначены для непрерывного измерения содержания озона в воздухе рабочей зоны; сигнализации о превышении заданных уровней концентрации; управления вторичными устройствами: вентиляцией, световой и звуковой сигнализацией и пр.Измерение концентрации озона производится устанавливаемыми в контролируемой зоне измерительными преобразователями (могут размещаться во взрывоопасных зонах В-1а, В-1б, В-1г). Блок сигнализации обеспечивает электрическое питание измерительных преобразователей, световую сигнализацию и выдачу управляющих релейных сигналов на вторичные исполнительные устройства. Измерительные преобразователи и блок сигнализации соединены двужильным экранированным кабелем. Тип кабеля МКЭШ, толщина жил от 0,35 мм до 1 мм. При сопротивлении жил кабеля не более 100 Ом, максимальная длина кабеля может достигать 1000 м. Газоанализатор работает от сети переменного тока напряжением 220 В, 50 Гц. Потребляемая мощность не более 2 Вт/канал. Блок сигнализации и измерительные преобразователи выполнены для настенного монтажа. Исполнение блока сигнализации и измерительных преобразователей по степени защиты от пыли и влаги — IP54. Газоанализатор может иметь от 1 до 16 измерительных каналов и два порога срабатывания сигнализации (0,1 мг/м3 и 0,3 мг/м3 ).
Газовая хроматография
Газовый хроматограф ГАЛС-311 предназначен для проведения анализов сложных многокомпонентных смесей органических и неорганических соединений в лабораторных условиях.
Достоинства:
· Детекторы: пламенно-ионизационный (ПИД), электронного захвата (ЭЗД), по теплопроводности (ДИП)
· Стандартные системы ввода пробы в насадочные колонки (on-column), в капиллярные колонки с делением потока газа-носителя (split), в капиллярные колонки большого внутреннего диаметра без деления потока газа-носителя (splitless)
· Использование дозирующих кранов для ввода газообразных проб
· Высокая точность поддержания температуры колонок, испарителей и детекторов
· Пятиступенчатое линейное программирование температуры колонок с высокой воспроизводимостью
· Автоматизированная система самодиагностики, система защиты от внезапных перепадов напряжения электропитания и его внезапного отключения, система автосохранения условий анализа
· Возможность регистрации хроматограмм на самописце или c использованием компьютерной системы сбора и обработки данных.
ПРИНЦИП МЕТОДА
Метод газо-жидкостной и газо-адсорбционной хроматографии.
Газовая хроматография — метод разделения смесей летучих веществ, основанный на многократном динамичечском перераспеделении их компонентов между сорбентом и газом-носителем при движении газа-носителя вдоль слоя сорбента.
ПРОЦЕДУРА РАБОТЫ
Разделение сложных смесей на хроматографической колонке, детектирование их компонентов и регистрация результатов.
ОБЛАСТИ ПРИМЕНЕНИЯ
контроль загрязнения объектов окружающей среды (воздух, вода, почва) и выбросов промышленных предприятий
технологический контроль в химической, нефтехимической, газовой, пищевой и других отраслях промышленности
контроль качества и сертификация пищевых продуктов
научные исследования
ПРИЛОЖЕНИЕ
ГАЗОХРОМАТОГРАФИЧЕСКОЕ ОПРЕДЕЛЕНИЕ КОНЦЕНТРАЦИЙ МЕТИЛАЦЕТИЛЕНА В АТМОСФЕРНОМ ВОЗДУХЕ МЕТОДИЧЕСКИЕ УКАЗАНИЯ МУК 4.1.672-97
1. Разработаны: Костюкович А.А., Назаров А.Г., Зиновьева Н.П., Павлов В.Н. (НИИ экологии человека и гигиены окружающей среды им. А.Н. Сысина).
2. Утверждены и введены в действие главным государственным санитарным врачом Российской Федерации 5 августа 1997 года.
1. Область применения
Методические указания по определению концентраций загрязняющих веществ в атмосферном воздухе предназначены для использования в системе санэпиднадзора России, при проведении аналитического контроля ведомственными лабораториями предприятий, а также научно-исследовательских институтов, работающих в области гигиены окружающей среды. Методические указания разработаны с целью обеспечения контроля соответствия уровня содержания загрязняющих веществ их гигиеническим нормам — предельно допустимым концентрациям (ПДК) и ориентировочным безопасным уровням воздействия (ОБУВ) — и являются обязательными при осуществлении аналитического контроля атмосферного воздуха.
Методические указания разработаны в соответствии с требованиями ГОСТа 8.010-90 «Методики выполнения измерений», ГОСТа 17.2.4.02-81 «Охрана природы. Атмосфера. Общие требования к методам определения загрязняющих веществ», ГОСТа 17.0..02-79
«Охрана природы. Метрологическое обеспечение контроля загрязненности атмосферы, поверхностных вод и почвы. Основные положения», ГОСТа Р1.5-92 (п. 7.3). Методика анализа метрологически аттестована и обеспечивает определение метилацетилена в диапазоне концентраций 0,91 — 9,1 мг/куб. м.
Метилацетилен — бесцветный газ со специфическим запахом.Температура кипения — -23,2- C, температура плавления — -101,5- C. Метилацетилен растворим в спирте, бензоле. В воздухе находится в газообразном состоянии.
Метилацетилен обладает слабым наркотическим действием, относится к 4 классу опасности. ПДК м.р. в атмосферном воздухе 3,0 мг/куб. м. ПДК м.р. метилацетилен-алленовой фракции (по метилацетилену) — 1,5 мг/куб. м. Методика обеспечивает выполнение измерений с суммарной погрешностью результата измерений 20,35% при доверительной вероятности 0,95%.
2. Сущность метода
Измерения концентрации метилацетилена выполняют методом
газовой хроматографии с пламенно-ионизационным детектированием. Нижний предел измерения в объеме пробы — 0,005 мгк. Определению не мешают ацетон, этанол и др. спирты, бензол и др. ароматические углеводороды, пары воды, этилацетат, фенол, аллен, пропан, пропилен. Длительность анализа, включая отбор пробы, 20 минут.
3. Средства измерений, вспомогательные устройства, реактивы
При выполнении применяют следующие средства измерений, вспомогательные устройства, материалы и реактивы.
3.1. Средства измерений
Хроматограф газовый с пламенно -
ионизационным детектором
Барометр — анероид М-67 ТУ 2504-1797-75
Линейка измерительная ГОСТ112-78
Лупа измерительная ГОСТ 8309-75
Секундомер СДСпр-1-2 ГОСТ 5072-79
Термометр лабораторный шкальный ТЛ-2;
пределы 0 — 55- C, цена деления 1- C ГОСТ 215-73Е
Шприцы медицинские стеклянные
вместимостью 1, 2, 5 и 10 мл ГОСТ 15150-69
Шприцы стеклянные вместимостью 100 мл ТУ 61-1295-72
Пипетки газовые вместимостью 500 мл ГОСТ 18954-73
Посуда лабораторная стеклянная ГОСТ 1770-74 и
ГОСТ 20292-74Е
3.2. Вспомогательные устройства
Колонка хроматографическая стеклянная
длиной 1 м и внутренним диаметром 4 мм
Дистиллятор ТУ 61-1-721-79
Вакуумный компрессор ВН-461 М
Редуктор водородный ТУ 26-05-463-76
Редуктор кислородный ТУ 26-05-235-70
Муфельная печь ТУ 79-337-72
Сито, d отв. — 0,25 — 0,5 мм
3.3. Материалы
Азот в баллоне ГОСТ 9293-74
Водород в баллоне ГОСТ 3022-89
Воздух в баллон ГОСТ 11882-73
Стекловата обезжиренная
3.4. Реактивы
Алюминия окись активированная -
неподвижная фаза для заполнения
хроматографической колонки ГОСТ 8136-56
Метилацетилен технический в баллоне с
редуктором (плотность газа 1,3 г/л,
содержание основного вещества 70%)
Вода дистиллированная ГОСТ 6709-72
Ацетон, ч. д. а ГОСТ 2603-79
Гексан, ч. ТУ 6-09-3375-78
4. Требования к безопасности
4.1. Помещение для проведения измерений должно соответствовать требованиям «Пожарных норм проектирования зданий и сооружений (СНиП ПА-5-700) и „Санитарных норм проектирования промышленных предприятий“ (СН-245-71) и СНиП-74.
4.2. При выполнении работ должны быть соблюдены меры противопожарной безопасности в соответствии с требованиями ГОСТа 12.1.004-85 и правила техники безопасности в соответствии с ГОСТом12.1.007-76.
4.3. При работе необходимо соблюдать „Правила по технике безопасности и производственной санитарии при работе в химических лабораториях“ (утверждены МЗ СССР 20.12.82), М., 1981 и „Правила устройства и безопасной эксплуатации сосудов, работающих под давлением“ (утверждены Госгортехнадзором СССР 27.11.87), М., Недра, 1989.
4.4. При работе с реактивом соблюдают требования безопасности, установленные для работ с токсичными, едкими и легковоспламеняющимися веществами по ГОСТу 12.1.005-88.
4.5. При выполнении измерений с использованием газового хроматографа соблюдают правила электробезопасности в соответствии с ГОСТом 12.1.019-79 и инструкции по эксплуатации прибора.
5. Требования к квалификации операторов
К выполнению измерений допускаются лица, имеющие квалификацию не ниже инженера — химика и опыт работы на газовом хроматографе.
6. Условия измерений
6.1. При проведении процессов приготовления растворов и
подготовки проб к анализу соблюдают следующие условия:
— температура воздуха (20 +/- 10) -C;
— атмосферное давление 630 — 800 мм рт. ст.;
— влажность воздуха не более 80% при температуре 25- C.
6.2. Выполнение измерений на газовом хроматографе проводят в
условиях, рекомендуемых технической документацией по прибору.
7. Подготовка к выполнению измерений
Перед выполнением измерений проводят следующие работы:
подготовка хроматографической колонки, приготовление газовых
смесей, установление градуировочной характеристики, отбор проб.
7.1. Приготовление газовых смесей
Исходная газовая смесь для градуировки. В газовый шприц на100 мл вводят 1 мл метилацетилена, отобранного шприцем из баллона с метилацетиленом. Весовое содержание метилацетилена в исходной стандартной газовоздушной смеси составляет (с учетом плотности метилацетилена и содержания основного вещества) 9,1 мкг/мл. Срок хранения — 4 часа.
7.2. Подготовка хроматографической колонки
Хроматографическую колонку перед заполнением неподвижной фазой промывают дистиллированной водой, ацетоном, гексаном, высушивают в токе инертного газа. Заполнение хроматографической колонки насадкой проводят под вакуумом. Концы колонки закрывают стекловатой и, не подключая к детектору, кондиционируют в токе газа — носителя (азота) с расходом 40 куб. см/мин. при температуре200- C в течение 18 часов. После охлаждения колонку подключают к детектору, записывают нулевую линию в рабочем режиме. При отсутствии мешающих влияний колонка готова к работе. Окись алюминия, просеянную через сито с размером ячеек 0,25 — 0,5 мм, готовят прокаливанием при 750- C в течение 7 часов и охлаждают в эксикаторе до комнатной температуры.
7.3. Установление градуировочной характеристики
Градуировочную характеристику устанавливают методом абсолютной градуировки на градуировочных газовых смесях метилацетилена. Онавыражает зависимость площади пика на хроматограмме (кв. мм) от массы метилацетилена (мгк) и строится по 5 сериям газовых смесей для градуировки. Каждую серию, состоящую из 5 газовых смесей готовят в газовых пипетках объемом 500 мл. Для этого в каждую пипетку (предварительно вакуумированную) вносят исходную газовую смесь. Давление в газовой пипетке приводят к атмосферному. Срок хранения — 4 часа. Примечание. Если объем газовой пипетки отличается от 500 мл, необходимо учесть при расчете концентрации газовой смеси объем применяемой газовой пипетки.
В хроматографическую колонку через испаритель вводят по 1 мл каждого градуировочного газового раствора и анализируют в условиях:
температура термостата колонок 180- C
температура испарителя 190- C
скорость потока газа — носителя (азот) 30 мл/мин.
скорость потока водорода 30 мл/мин.
-12
шкала измерителя тока 10 — 20 x 10 А
скорость движения диаграммной ленты 20 мм/ч
время удерживания метилацетилена 3 мин. 25 с.
На полученной хроматограмме определяют площади пиков
метилацетилена и по средним результатам из 5 серий строят
градуировочную характеристику. Градуировку проверяют 1 раз в
неделю и при смене партии реактивов.
7.4. Отбор проб
Воздух медленно аспирируют вручную поршнем шприца (примерно со скоростью 0,1 л/мин). После окончания отбора открытый конец шприца фиксируют заглушкой. Срок хранения пробы не более 4 часов.
8. Выполнение измерений
После выхода прибора на режим вводят в испаритель 1 — 10 мл анализируемого воздуха. Объем пробы воздуха выбирают в зависимости от концентрации метилацетилена в атмосферном воздухе. На хроматограмме рассчитывают площадь пика и по градуировочной характеристике определяют массу метилацетилена в пробе.
9. Вычисление результатов измерений
Концентрацию метилацетилена в воздухе (мг/куб. м) вычисляют по
формуле:
m
C = ---, где
Vo
m — масса вещества, найденного в пробе по градуировочной
характеристике, мгк;
Vo — объем исследуемой пробы воздуха, приведенный к нормальным условиям, л:
Vn x 273 x p
Vo = ---------------, где
(273 + t) x 760
Vn — объем исследуемой пробы воздуха, л;
р — атмосферное давление в момент отбора пробы, мм рт. ст.;
t — температура воздуха, -C.
10. Контроль погрешности измерений МВИ
Целесообразно проведение первичного (оперативного) и периодического контроля погрешности МВИ при ее использовании в соответствии с ГОСТом Р 8.563-96.
10.1. Оперативный контроль точности
Контроль качества разделения и отсутствия мешающих компонентов выполняется визуально путем оценки форм хроматографического пика метилацетилена. Пик метилацетилена должен быть симметричным, искажения переднего или заднего фронтов не допускаются. Дополнительный контроль появления мешающих компонентов осуществляется путем анализа холостой пробы. За „холостую“ пробу принимают пробу воздуха, отобранную в местности, где предполагается отсутствие метилацетилена. В области регистрации метилацетилена не должно быть пиков.
10.2. Максимальное расхождение между двумя параллельными результатами
Готовятся две газовые смеси, соответствующие одному значению метилацетилена, лежащему в диапазоне 0,02 — 0,03.
Эти смеси подвергают процедуре анализа и определяют значения
концентраций Х1 и Х2. Максимальное относительное расхождение d между результатами определяют по формуле:
¦ X1 — X2 ¦ ¦ X1 — X2 ¦
d = ¦---------¦ = 2 x ¦---------¦
¦ — ¦ ¦ X1 + X2 ¦
¦ X ¦ ¦ ¦
Найденная величина d не должна превышать 0,3. Контроль проводится не реже одного раза в неделю и обязательно после замены хроматографических колонок или длительного перерыва в работе.
10.3. Контроль погрешности анализа
Выполняются методом „введено — найдено“ путем анализа двух газовых смесей. Значения концентраций C1 и C2 должны лежать в первой и последней трети диапазона ГХ. Значения C1 и C2 определяют в соответствии с п. 7.3. Смеси подвергают процедуре анализа и сравнивают найденные значения концентраций Х1 и Х2 с рассчитанными значениями C1 и C2.
Относительная погрешность анализа в каждой точке находится из
соотношения:
»C1 C1 — X1
— = ---------
C1 C1
«C2 C2 — X2
— = ---------
C2 C2
Наибольшее из полученных значений не должно превышать 0,25.
Контроль проводится один раз в две недели и обязательно после замены хроматографических колонок или длительного перерыва в работе.Если наибольшее из полученных значений „C/C > 0,25, но не превышает 1,0, то необходимо заново провести градуировку хроматографа. В этом случае проверка хроматографа не требуется. Если наибольшее из полученных значений “C/C > 1, то после проведения новой градуировки следует проверить хроматограф в соответствии с ГОСТом 8.485-83, п. 3.3.4.
ЛИТЕРАТУРА
1. Столяров Б.В. и др. // Практическая газовая и жидкостная хроматография. СПб.: СПбГУ, 1998. С. 81.
2. Хроматографический анализ окружающей среды. — М.: Химия, 1979.
3. Справочник по физико-химическим методам исследования объектов окружающей среды. — Л.: Судостроение, 1979.
4. Дженнингс В. Газовая хроматография на стеклянных капиллярных колонках. — М.: Мир, 1980.
5. Тесаржик К., Комарек К. Капиллярные колонки в газовой хроматографии. — М.: Мир, 1987.
6. Методы-спутники в газовой хроматографии. — М.: Мир, 1972. 7. Ногаре Д., Джувет Р.С. Газо-жидкостная хроматография. — Л.: Недра, 1968.
8. Прикладная хроматография. (Под ред.Сакодынского К.И.). — М.: Наука, 1984. 9. Карасек Ф., Клемент Р. Введение в хромато-масс-спектрометрию. — М.: Мир, 1993.
10. Хромченко Л.Я., Руденко Б.А. Определение летучих органических соединений в питьевых и природных водах методом капиллярной газовой хроматографии // Аналитическая химия. — 1982. — Т. 37. — № 5.
11. Токуев Ю.С., Михалева Н.М. Временная инструкция по определению нефтепродуктов в морской воде методом газовой хроматографии. — М.: Гидрометеоиздат, 1972.