Реферат: Аналитическая химия
ФЕДЕРАЛЬНОЕ ГОСУДАРСТВЕННОЕ ОБРАЗОВАТЕЛЬНОЕ
УЧРЕЖДЕНИЕ ВЫСШЕГО ПРОФЕССИОНАЛЬНОГО ОБРАЗОВАНИЯ
«САНКТ-ПЕТЕРБУРГСКИЙ ГОСУДАРСТВЕННЫЙ УНИВЕРСИТЕТ
КИНО И ТЕЛЕВИДЕНИЯ»
Кафедра общей, органической и физической химии
АНАЛИТИЧЕСКАЯ ХИМИЯ
Методические указания к выполнению лабораторных работ
по количественному анализу
для студентов очного и очно-заочного отделений
Составители: доц. Е.В. Зиненко, проф. А.Ю. Ершов
Рецензент: к.т.н., доцент В.В. Митрофанов
СОДЕРЖАНИЕ
ВВЕДЕНИЕ
1. ПРИЕМЫ РАБОТЫ В ТИТРИМЕТРИЧЕСКОМ АНАЛИЗЕ
1.1. Подготовка посуды
1.1.1. Соизмерение мерной колбы и пипетки
1.2. Приготовление раствора в мерной колбе и отбор аликвотной части
1.3. Приготовление титрованных растворов
1.4. Подготовка бюретки
1.5. Взятие навески.
1.6. Титрование
2. МЕТОДЫ КИСЛОТНО-ОСНОВНОГО ТИТРОВАНИЯ
2.1. Приготовление раствора хлороводородной кислоты
2.2. Стандартизация 0,1 М раствора НСl
2.2.1. Приготовление раствора тетрабората натрия
2.2.2. Определение точной концентрации раствора хлороводородной кислоты.
2.3. Приготовление раствора гидроксида натрия
2.4. Стандартизация 0,1 н раствора NаОН
2.4.1. Приготовление раствора щавелевой кислоты
2.4.2. Определение точной концентрации раствора гидроксида натрия
2.5. Стандартизация рабочих растворов потенциометрическим методом
Лабораторная работа №1 «Определение содержания КОН в растворе»
Лабораторная работа №2 «Определение содержания серной кислоты в растворе»
Лабораторная работа №3 «Определение содержания карбоната- и гидро-карбоната натрия при совместном присутствии»
Лабораторная работа №4 «Определение содержания соды в смеси с хлори-дом натрия»
Лабораторная работа №5 «Определение содержания щавелевой кислоты в смеси с хлоридом натрия»
3. МЕТОДЫ ОКИСЛИТЕЛЬНО-ВОССТАНОВИТЕЛЬНОГО ТИТРОВАНИЯ.
3.1. ПЕРМАНГАНАТОМЕТРИЯ
3.2. Стандартизация раствора КМnО4
Лабораторная работа №6 «Определение содержания Fе(II) и Fе(III) при сов-местном присутствии с применением редуктора
3.3. ЙОДОМЕТРИЯ
3.4. Стандартизация раствора тиосульфата натрия
3.5. Стандартизация раствора йода
Лабораторная работа №7 „Определение гексацианоферрат (II) калия“
4. МЕТОДЫ ОСАДИТЕЛЬНОГО ТИТРОВАНИЯ
4.1.АРГЕНТОМЕТРИЯ
4.2. Стандартизация раствора нитрата серебра методом Мора
4.3. Стандартизация раствора роданида аммония
Лабораторная работа №9 „Определение бромида калия методом Фольгарда“
Лабораторная работа №10 „Потенциометрическое определение хлорид-, бро-мид- и йодидионов при совместном присутствии“
5. МЕТОДЫ КОМПЛЕКСОНОМЕТРИЧЕСКОГО ТИТРОВАНИЯ
5.1. Стандартизация раствора Трилон Б
Лабораторная работа №11 „Определение содержания Аl3+ методом обрат-ного титрования“
Лабораторная работа №12 „Определение общей жесткости воды“
6. ПОТЕНЦИОМЕТРИЧЕСКИЙ МЕТОД АНАЛИЗА
6.4. Правила работы на рН-метре-милливольтметре
6.5. Обработка результатов потенциометрического титрования
ЛИТЕРАТУРА
ВВЕДЕНИЕ
Практическое применение методов титриметрического анализа требует знания теоретических основ, поэтому к выполнению лабораторных работ можно приступать только после изучения соответствующих разделов курса, а также методических указаний. При выполнении лабораторных работ экспериментальные данные записывают в рабочем журнале, там же выполняют все необходимые расчеты.
Наиболее важной операцией в титриметрическом анализе является титрование − процесс непрерывного контролируемого смешивания стандартного раствора и раствора определяемого вещества.
Для титрования используют раствор химического реагента точно известной концентрации, называемый стандартным или титрованным . Стандартный раствор, применяемый для титрования, называют также титрантом или рабочим раствором .
При титровании к раствору определяемого вещества А постепенно приливают из мерного сосуда (бюретки) титрованный раствор реагента В:
аА + bВ → продукты реакции, где а и b стехиометрические коэффициенты реакции, причем а > b.
Когда количества мг-экв реагирующих веществ становятся стехиометричными (эквивалентными), т.е. q(А) = q(В), достигается точка эквивалентности и титрование заканчивают. Этот момент обычно определяют с помощью индикаторов по изменению их окраски в анализируемом растворе. В этот момент можно записать:
А + (b/а)В → продукты реакции.
Отношение b/а обозначают символом fэкв и называют фактором эквивалентности вещества , т.е. fэкв (В) = b/а. Фактор эквивалентности − величина безразмерная, равная или меньшая единицы. При работе с растворами необходимо использовать их количественную характеристику − концентрацию растворенного вещества. Известно несколько способов выражения концентрации раствора:
Молярность (с) − показывает, какое количество моль (ммоль) вещества растворено в 1 литре (1 мл) раствора.
Нормальность (N или н) − показывает, какое количество грамм-эквивалентов (мг-экв) вещества растворено в 1 литре (1 мл) раствора.
Титр (Т) − показывает число грамм или миллиграмм растворенного вещества в 1 миллилитре раствора.
Массовая доля (ω) − показывает число грамм вещества, растворенное в 100 граммах раствора.
Расчет результатов объемного анализа основан на принципе эквивалентности, и количество вещества (q) можно выразить через различные концентрации:
mн · 1000 Т· V · 1000 V · ρ · ω ·1000
q = N ·V = — = — = --------------------, где
Мэ Мэ Мэ · 100%
q – количество вещества, мг-экв;
N – нормальность раствора, мг-экв/мл;
V – объем раствора, мл;
mн – масса навески вещества, г;
1000 – коэффициент, переводящий граммы в миллиграммы;
Т – титр раствора, г/мл;
ρ – плотность раствора, г/мл3 ;
ω – массовая доля раствора, % или как часть от 1;
Мэ − масса эквивалента вещества (Мэ = М · fэкв, где М − молярная масса вещества).
1. ПРИЕМЫ РАБОТЫ В ТИТРИМЕТРИЧЕСКОМ АНАЛИЗЕ
1.1 Подготовка посуды
Чистота стеклянной посуды определяется по смачиваемости стенок водой: чистое стекло легко смачивается водой, и при выливании ее из сосуда на чистой поверхности остается сплошная тонкая пленка, тогда как на загрязненной поверхности стекла вода собирается в капли. Если отмыть сосуд водой не удается, применяют активные реагенты, например «хромовую смесь» (насыщенный раствор бихромата калия в концентрированной серной кислоте). После этого посуда промывается проточной водой и ополаскивается дистиллированной водой.
1.1.1. Соизмерение мерной колбы и пипетки
Во многих случаях мерной колбой пользуются параллельно с другим измерительным сосудом, например, с пипеткой Мора. Поэтому часто практичнее проверить не абсолютную вместимость мерной колбы, а соответствие объемов колбы и пипетки (произвести их соизмерение). Это важно в тех случаях, когда некоторое количество исследуемого вещества растворено в объеме мерной колбы, а для его определения титрованием пипеткой отбирают лишь аликвотную (кратную) часть раствора (метод пипетирования). Пипетки Мора градуированы по объему вытекающей воды. Для работы в лаборатории используются пипетки на 5 мл. Перед началом работы ее необходимо тщательно промыть, обтереть снаружи насухо и подписать этикеткой со своей фамилией выше метки. Мерная колба рассчитана на объем 50 мл, а значит, в колбу помещается 10 пипеток раствора, причем уровень воды может не совпадать с заводской меткой на колбе.
Для соизмерения из пипетки дозируют 10 порций дистиллированной воды в сухую мерную колбу. При установке мениска глаза наблюдателя должны находиться на уровне метки, нанесенной на пипетке. После внесения десяти порций воды верхний край этикетки, подписанной своей фамилией, прикрепляется на шейке колбы по касательной к нижней части мениска.
Таким образом, после завершения соизмерения отмеренная пипеткой аликвотная часть анализируемого раствора содержит 1/10 часть растворенного в мерной колбе вещества.
1.2. Приготовление раствора в мерной колбе и отбор аликвотной части
В мерную колбу переносят навеску стандартного вещества и добавляют примерно до половины объема дистиллированной воды. Частицы твердого вещества полностью растворяют, и объем воды доводят до метки.
Раствор тщательно перемешивают, закрыв колбу пробкой и переворачивая ее на 180º не менее 10 раз. Раствор перемешивают всплывающим воздушным пузырьком.
Чистую пипетку, обтертую снаружи фильтровальной бумагой насухо, промывают приготовленным в мерной колбе раствором, который затем сливают в отходы. Промыв пипетку, дозируют порцию раствора в колбу для титрования, пользуясь теми же приемами, что и при соизмерении. Наполняя пипетку, нужно следить за тем, чтобы ее конец находился в жидкости (лучше опускать пипетку до дна колбы).
1.3. Приготовление титрованных растворов
По способу приготовления рабочие растворы делятся на растворы с приготовленным титром и растворы с установленным титром .
Для получения раствора с приготовленным титром взвешивают точную навеску стандартного вещества, количественно переносят ее в мерную колбу, растворяют в дистиллированной воде, доводят до метки, тщательно перемешивают и рассчитывают титр приготовленного раствора:
mн
Т = — , где
Vк
mн − масса навески стандартного вещества, г;
Vк − объем мерной колбы, мл.
Рабочие растворы многих веществ нельзя приготовить по точной навеске, так как они содержат примеси. Поэтому растворы таких веществ готовят приблизительной концентрации, а затем их точную концентрацию устанавливают в процессе титрования навески стандартного вещества. Концентрацию таких растворов рассчитывают по закону эквивалентов:
mн (А) · 1000
= N * (В) · V(В)
Мэ (А)
1.4. Подготовка бюретки.
Перед титрованием бюретку промывают дистиллированной водой, а затем дважды новыми порциями стандартного (рабочего) раствора. При заполнении бюретки рабочим раствором в третий раз носик бюретки заполняют раствором. Для этого носик задирают кверху, и зажим бюретки медленно отпускают. Раствор плавно вытесняет воздух из носика бюретки. Уровень раствора устанавливают на нулевой отметке. При этом глаза наблюдателя должны находиться на уровне мениска, чтобы не возникала погрешность из-за неправильного угла зрения. Если раствор бесцветен или бледно окрашен, уровень измеряют по нижнему темному краю вогнутого мениска, который четко виден на фоне освещенного листка белой бумаги. Уровень установлен правильно, если метка имеет вид прямой, касательной к нижнему темному краю мениска. При работе с темно окрашенными или непрозрачными растворами уровень измеряют по верхнему «ровному» краю мениска, который должен совпадать с нулевой отметкой.
По окончании титрования бюретку промывают и наполняют дистиллированной водой.
1.5. Взятие навески
На столе возле аналитических весов должен находиться рабочий журнал, ручка для записей, фарфоровый тигель для взвешивания, мерная колба и разновесы. Пустой, чистый тигель ставят на левую чашку весов и определяют его точный вес (mт ). Затем массу на левой чашке весов увеличивают на желаемую величину навески и всыпают в тигель столько вещества, чтобы равновесие устанавливалось в пределах положительной части шкалы, наблюдаемой на светящемся экране весов. Массу тигля с навеской записывают в рабочий журнал (mт+н ). Вещество из тигля количественно переносят в мерную колбу через сухую воронку, тигель вновь взвешивают и результат записывают в рабочий журнал (mт+о ). Потери вещества при пересыпании в мерную колбу недопустимы.
Массу навески перенесенную в мерную колбу, вычисляют по разности двух взвешиваний: mн = mт+н − mт+о .
1.6. Титрование
Аликвотную часть исследуемого раствора (пипетка), взятую из мерной колбы, переносят в коническую колбу для титрования. К раствору в конической колбе при постоянном перемешивании постепенно из бюретки приливают стандартный (рабочий) раствор до достижения точки эквивалентности. Сначала раствор добавляют по нескольку капель, а ближе к концу титрования его добавляют уже по одной капле, чтобы не перетитровать исследуемый раствор (не пропустить точку эквивалентности). Объем стандартного раствора, ушедшего на титрование, отмечают по бюретке с точностью до 0,01 мл. Результат записывают в рабочий журнал. При титровании в присутствии индикатора колбу с титруемым раствором на время титрования помещают на белый лист бумаги. Результат первого титрования в большинстве случаев неточен, поэтому считается ориентировочным. Каждый исследуемый раствор титруют не менее трех раз, повторяя заново весь процесс титрования. Если результаты трех титрований отличаются не более чем на ±0,02 мл, титрование заканчивают и проводят расчет, учитывая, что титровалась только аликвотная часть.
2. МЕТОДЫ КИСЛОТНО - ОСНОВНОГО ТИТРОВАНИЯ
Методы основаны на взаимодействии кислот с основаниями, в результате которых изменяется характер среды. В общем виде процесс может быть выражен реакцией нейтрализации:
Н+ + ОН− = Н2 О или Н3 О+ + ОН− = 2Н2 О
Реакции такого типа протекают с большой скоростью, строго стехиометрично, поэтому данный метод характеризуется высокой точностью (погрешность составляет 0,1-0,2%).
Методы кислотно-основного титрования позволяют определить содержание большого числа органических и неорганических сильных и слабых кислот и оснований, а также солей, подвергающихся гидролизу.
При титровании используют рабочие растворы кислот или оснований. Чаще всего их готовят приблизительной концентрации, а точную концентрацию устанавливают с помощью стандартных веществ путем титрования.
2.1. Приготовление раствора хлороводородной кислоты
Раствор готовят из концентрированной соляной кислоты (~ 34,18%) путем разбавления. Приготовить раствор НСl точно заданной концентрации технически трудно, так как концентрация кислоты в исходном растворе указывается приближенно (раствор НСl гигроскопичен), поэтому готовится раствор приблизительной концентрации ~ 0,1 М (разбавленный) из концентрированного раствора.
По закону эквивалентов: qконц.НСl = qразб.НСl или
Vконц.НСl · ρ · ω · 1000
= N разб.НСl Vразб.НСl, откуда
100% · Мэ НСl
N разб.НСl Vразб.НСl 100% Мэ НСl 0,1 250 100 36,5
Vконц.НСl = — = — ≈ 2,3 мл.
ρ ω 1000 1,17 34,18 1000
Рассчитанный объем концентрированной соляной кислоты вливают цилиндром в склянку на 250 мл к 247÷248 мл дистиллированной воды. Склянку закрывают стеклянной притертой пробкой и раствор тщательно перемешивают. При работе с кислотой необходимо соблюдать все меры предосторожности!
2.2. Стандартизация 0,1 М раствора НСl
В качестве стандартного вещества используют кристаллический тетра-борат натрия (буру), который хранят таким образом, чтобы его состав точно соответствовал химической формуле Na2 B4 O7 · 10H2 O.
Титрование основано на суммарной реакции:
2НСl + Na2 B4 O7 + 5H2 O = 4H3 BO3 + 2NaCl
По реакции соотношение моль реагентов составляет:
n(НСl) = 2n(Na2 B4 O7 ) = n(½ Na2 B4 O7 ),
т.е фактор эквивалентности буры fэкв (Na2 B4 O7 · 10Н2 О) = ½.
В точке эквивалентности раствор содержит смесь NaClи свободной борной кислоты H3 BO3, поэтому величина рН раствора определяется присутствием слабой кислоты H3 BO3. Пренебрегая изменением объема в процессе титрования и учитывая, что показатель рКI борной кислоты равен 9,24, рассчитываем рН раствора в точке эквивалентности:
рН = ½ рКкисл − ½ lgN кисл. = ½ ∙ 9,24 − ½ lg 10-1 = 5,12
Скачек титрования соответствует рН = 4,0 ÷ 6,2. Следовательно, для титрования лучше всего подойдут индикаторы метиловый красный (рТ = 5,5) и метиловый оранжевый (рТ = 4).
2.2.1. Приготовление раствора тетрабората натрия
Расчет интервала навески буры осуществляется на основании закона эквивалентов: q(Na2 B4 O7 · 10Н2 О) = q(HCl).
При расчетах необходимо учитывать, что титруется только 1/10 часть навески буры:
mн (Na2 B4 O7 10H2 O) N (HCl) V(HCl)
— = ---------------------
10 Mэ (Na2 B4 O7 10H2 O) 1000
Для уменьшения относительной ошибки определения навеска буры должна быть такой величины, чтобы на ее титрование затрачивался объем рабочего раствора, не превышающий объема бюретки. Предпочтительнее, чтобы объем находился в средней части бюретки. Если бюретка рассчитана на 10 мл, то объем рабочего раствора должен быть не менее 5 и не более 7 мл. Подставляя в приведенную формулу соответствующие объемы кислоты V1 = 5 мл и V2 = 7 мл, при расчете получим интервал навесок m1 ÷ m2, г.
Рассчитанную навеску буры взвешивают на аналитических демпферных весах (см. 1.5) и переносят в мерную колбу. Оставшиеся на воронке кристаллы буры смывают горячей (60-70°С) дистиллированной водой (30-35 мл), содержимое колбы перемешивают круговыми движениями до полного растворения кристаллов в горячей воде, раствор в мерной колбе охлаждают до комнатной температуры с помощью холодной водопроводной воды и затем объем в мерной колбе доводят до метки. Колбу закрывают пробкой, и раствор тщательно перемешивают.
2.2.2. Определение точной концентрации раствора хлороводородной кислоты
Бюретку заполняют рабочим раствором НСl (см. 1.4). Аликвотную часть раствора буры из мерной колбы переносят пипеткой в коническую колбу для титрования. К раствору добавляют 1 каплю метилового оранжевого и титруют раствором кислоты до перехода окраски индикатора из желтой в оранжевую от одной избыточной капли кислоты. Объем кислоты записывают в рабочую тетрадь (V1, мл). Титрование повторяют трижды и рассчитывают средний объем Vср (НСl), мл, который ушел на титрование аликвотной части навески буры.
По результатам титрования производят расчет точной концентрации приготовленного раствора НСl:
1000 mн (Na2 B4 O7 · 10H2 O)
N (HCl) = --------------------------------------------
10 Mэ (Na2 B4 O7 10H2 O) Vср (НСl)
Рабочий раствор НСl с установленным титром сохраняют для выполнения лабораторных работ.
2.3. Приготовление раствора гидроксида натрия
Приготовить раствор NaOH точно заданной концентрации невозможно, так как NaOHвзаимодействует с СО2 и Н2 О, содержащимися в воздухе, а потому не отвечает химической формуле. Раствор готовят приблизительной концентрации ~ 0,1н из 1н раствора NaOH путем разбавления.
По закону эквивалентов: qконц.NaOH = qразб.NaOH или
N конц.NaOH Vконц.NaOH = N разб.NaOH · Vразб.NaOH
Подставив соответствующие значения концентраций и объема, получим равенство: 1 Vконц.NaOH = 0,1 250, откуда Vконц.NaOH = 25 мл.
Таким образом, для приготовления 250 мл рабочего раствора NaOH в чистую склянку цилиндром отмеряют (250 − 25 = 225 мл) дистиллированной воды и туда же добавляют 25 мл 1н раствора NaOH. Приготовленный раствор плотно закрывают стеклянной притертой пробкой и тщательно перемешивают.
2.4. Стандартизация 0,1н раствора NaOH
В качестве стандартного вещества используют кристаллическую щавелевую кислоту, которую хранят таким образом, чтобы ее состав точно соответствовал химической формуле Н2 С2 О4 2Н2 О.
Титрование основано на реакции:
2NaOH+ Н2 С2 О4 = Na2 С2 О4 + 2Н2 О
оксалат натрия
По реакции соотношение моль реагентов составляет:
n(NaOH) = 2n(Н2 С2 О4 ) = n(½H2 С2 О4 ), т.е. fэкв (Н2 С2 О4 ) = ½.
В точке эквивалентности раствор содержит соль Na2 С2 О4, которая подвергается гидролизу, и воду. Пренебрегая изменением объема в процессе титрования и учитывая, что рКII щавелевой кислоты 4,19, рассчитывают рН раствора в точке эквивалентности:
рН = 7 + ½ рКII + ½ lg N соли = 7 + ½ · 4,19 + ½ ∙ lg 10−1 = 8,595.
Следовательно, для титрования подойдет индикатор фенолфталеин (рТ= 9).
2.4.1. Приготовление раствора щавелевой кислоты
Расчет интервала навески щавелевой кислоты m1 ÷ m2 осуществляют на основании закона эквивалентов: q(Н2 С2 О4 ) = q(NaOH) и cучетом аликвотной части кислоты по методике (см. 2.2.1):
mн (Н2 С2 О4 · 2H2 O) N (NaOH) · V(NaOH)
— = --------------------------
10 Mэ (Н2 С2 О4 2H2 O) 1000
Рассчитанную навеску взвешивают на аналитических демпферных весах. В мерную колбу со щавелевой кислотой порциями добавляют, обмывая воронку, 30-35 мл дистиллированной воды. Содержимое в колбе перемешивают круговыми движениями до полного растворения всех кристаллов кислоты. Затем раствор в колбе доводят до метки, колбу закрывают пробкой, и раствор тщательно перемешивают.
2.4.2. Определение точной концентрации раствора гидроксида натрия
Бюретку заполняют рабочим раствором NаОН (см. 1.4). Аликвотную часть раствора щавелевой кислоты из мерной колбы пипеткой переносят в коническую колбу для титрования, добавляют 1 каплю фенолфталеина и титруют раствором NаОН (см. 1.6). Титрование заканчивают при появлении бледно-розовой окраски раствора от одной избыточной капли щелочи. Объем раствора, ушедшего на титрование, записывают в рабочую тетрадь (V1, мл). Титрование повторяют трижды и рассчитывают средний объем щелочи Vср (NаОН), мл, который ушел на титрование аликвотной части навески щавелевой кислоты.
По результатам титрования проводят расчет точной концентрации приготовленного рабочего раствора NаОН:
1000 mн (Н2 С2 O4 · 2H2 O)
N (NаОH) = ---------------------------------
10 Mэ (Н2 С2 O4 · 2H2 O) · Vср (NаОН)
Раствор NаОН с установленным титром сохраняют для дальнейшего выполнения лабораторных работ.
2.5. Стандартизация рабочих растворов потенциометрическим методом
При прохождении реакции нейтрализации происходит изменение характера среды (рН) раствора. Изменение значения рН титруемого раствора при добавлении рабочего раствора графически отображается при построении кривой титрования . Вблизи точки эквивалентности в момент, когда количество добавленного рабочего раствора отличается на ±0,1% от эквивалентного объема, наблюдается резкое изменение рН раствора − скачок титрования . Он может быть зафиксирован безындикаторным потенциометрическим методом по изменению разности потенциалов между двумя электродами − индикаторным и стандартным, опущенными в анализируемый раствор (см.раздел 6). При определении значения рН в качестве индикаторного используют стеклянный электрод (мембранный), а в качестве стандартного − хлорсеребряный электрод (металлический электрод II-го рода). Для проведения анализа необходимо собрать схему гальванического элемента:
1. При определении концентрации рабочего раствора НСl по стандартному веществу тетраборат натрия
Ag│AgCl, HCl, OH−, KCl, AgCl│AgВ бюретке рабочий раствор
стеклянный исслед. хлорсеребряный НСl
электрод р-р электрод
3. При определении концентрации рабочего раствора NаОН по стандартному веществу щавелевой кислоты
Ag│AgCl, HCl, H+, KCl, AgCl│AgВ бюретке рабочий раствор
стеклянный исслед. хлорсеребряный NаОН
электрод р-р электрод
Методика анализа
Аликвотную часть раствора стандартного вещества переносят пипеткой в стакан для титрования. Объем в стакане доводят до 50 мл дистиллированной водой. Стакан помещают на столик рН-метра, опускают в стакан электроды и магнитный стержень, на штативе укрепляют бюретку с рабочим раствором. Включают магнитную мешалку (необходимо отрегулировать скорость вращения магнитного стержня, чтобы исключить разбрызгивание раствора) и титруют исследуемый раствор рабочим раствором, добавляя его порциями по 0,2 мл. Объем добавленного раствора и соответствующие показания рН-метра заносят в таблицу (см.раздел 6). После достижения скачка титрования продолжают титрование и добавляют еще 2-3 порции рабочего раствора. По полученным данным строят кривую титрования на миллиметровой бумаге в координатах „рН − Vраб.р-ра “ и определяют эквивалентный объем рабочего раствора (Vэкв ). Более точное значение Vэкв определяют при построении по экспериментальным данным дифференциальной кривой в координатах „ΔрН/ΔV − V′ “. Значение Vэкв рабочего раствора подставляют в расчетную формулу для вычисления концентрации рабочего раствора:
1000 · mн (станд. в-ва)
N потенц. = ---------------------------------------------
10 · Мэ (станд. в-ва) · Vэкв (раб. р-ра)
По рассчитанным значениям N потенц и N индик вычисляют относительную ошибку определения Δ% (она не должна превышать 5 %), считая результат потенциометрического определения более достоверным:
N потенц − N индик
Δ = — · 100 %
N потенц
Лабораторная работа №1
»Определение содержания КОН в растворе"
В основе определения лежит реакция нейтрализации:
КОН + НСl = КСl + Н2 О
раб. р-р
n(КОН) = n(НСl), следовательно fэкв (КОН) = 1.
Титрование щелочи рабочим раствором НСl проводят индикаторным способом. Для выполнения задачи студенты самостоятельно выбирают подходящий индикатор из предложенного списка индикаторов. Для этого необходимо рассчитать скачок титрования и сравнить это значение с рТ индикатора. Интервал рН изменения окраски индикатора должен захватывать хотя бы одну точку скачка титрования.
Методика анализа
Раствор задачи получают в чистую мерную колбу, доводят до метки дистиллированной водой, закрывают колбу пробкой и тщательно перемешивают.
В коническую колбу для титрования вносят пипеткой аликвотную часть раствора задачи, добавляют 1 каплю индикатора (по выбору) и титруют задачу рабочим раствором НСl. Титрование заканчивают в момент изменения окраски индикатора и записывают в рабочую тетрадь затраченный объем V1 (НСl), мл. Титрование повторяют трижды и вычисляют средний объем Vср (НСl), затраченный на титрование аликвотной части задачи.
Результаты анализа выражают в граммах содержания КОН в задаче:
N (НСl) · Vср (НСl)
m(КОН) = 10 · — · Мэ (КОН), г.
1000
Лабораторная работа №2
«Определение содержания серной кислоты в растворе»
В основе определения лежит реакция:
Н2 SO4 + 2NaOH = Na2 SO4 + 2H2 O
раб . р - р
Пореакции: n(NaOH) = 2n(H2 SO4 ) = n(½ H2 SO4 ), т.е. fэкв (Н2 SО4 ) = ½.
При титровании Н2 SО4 рабочим раствором щелочи точку эквивалентности определяют индикаторным методом. Подходящий индикатор подбирают из предложенного списка после расчета скачка титрования. Интервал рН изменения окраски индикатора должен захватывать хотя бы одну точку скачка титрования.
Методика анализа
Раствор задачи получают в чистую мерную колбу, доводят до метки дистиллированной водой, закрывают колбу пробкой и тщательно перемешивают.
В коническую колбу для титрования вносят пипеткой аликвотную часть раствора задачи, добавляют 1 каплю индикатора (по выбору) и титруют задачу рабочим раствором NаОН. Титрование заканчивают в момент изменения окраски индикатора и записывают в рабочую тетрадь затраченный объем V1 (NаОН), мл. Титрование повторяют трижды и вычисляют средний объем Vср (NаОН), затраченный на титрование аликвотной части задачи.
Результаты анализа выражают в граммах содержания Н2 SО4 в задаче:
N (NаОН) · Vср (NаОН)
m(Н2 SО4 ) = 10 · — · Мэ (Н2 SО4 ), г.
1000
Лабораторная работа №3
«Определение содержания карбоната- и гидрокарбоната натрия при совместном присутствии»
При титровании смеси солей Nа2 СО3 и NаНСО3 рабочим раствором НСl реакция нейтрализации протекает в две стадии. Сначала карбонат переходит в гидрокарбонат:
Nа2 СО3 + НСl = NаНСО3 + NаСl, fэкв (Nа2 СО3 ) = ½
раб. р-р
а затем суммарное содержание гидрокарбонатов титруется до угольной кислоты, которая самопроизвольно разлагается на углекислый газ и воду:
NаНСО3 + НСl = Н2 О + СО2 + NаСl fэкв (NаНСО3 ) = 1
раб. р-р
При этом на кривой титрования будет наблюдаться два скачка титрования: рН в первой точке эквивалентности ~ 8,35 (нейтрализация карбоната до гидрокарбоната), рН во второй точке эквивалентности ~ 3,85 (нейтрализация суммы гидрокарбонат-ионов). Определение в смеси карбоната- и гидрокарбоната натрия можно провести, используя два индикатора: фенолфталеин (рН интервала перехода окраски 8 ÷ 9,8) и метиловый оранжевый (рН интервала перехода окраски 3,1 ÷ 4,3). В присутствии фенолфталеина оттитровывают половину Nа2 СО3. Если продолжить титрование в присутствии метилового оранжевого, то будут оттитрованы НСО3− — ионы, образовавшиеся из Nа2 СО3 и НСО3− -ионы собственно NаНСО3. Заметив по бюретке объем кислоты, затраченный на титрование с фенолфталеином V1 (НСl), можно рассчитать содержание Nа2 СО3 в задаче: на титрование всей Nа2 СО3 расходуется 2·V1 (НСl). Заметив по бюретке объем кислоты при титровании с метиловым оранжевым V2 (НСl), можно рассчитать содержание NаНСО3 в задаче: на титрование NаНСО3 расходуется [V2 (НСl) − 2·V1 (НСl)].
Методика анализа
Раствор задачи получают в мерную колбу, разбавляют до метки дистиллированной водой и тщательно перемешивают. Пипеткой переносят аликвотную часть задачи в коническую колбу для титрования, добавляют 1 каплю фенолфталеина и осторожно титруют рабочим раствором НСl до перехода окраски индикатора из розовой в бесцветную. Записывают в рабочую тетрадь V1 (НСl). К обесцветившемуся раствору добавляют 1 каплю метилового оранжевого и продолжают титрование раствором НСl до перехода окраски индикатора из желтой в оранжевую. В рабочую тетрадь записывают значение V2 (НСl). Титрование повторяют не менее трех раз с новыми порциями задачи. Рассчитывают средние значения V1 (НСl) и V2 (НСl), которые используют при расчете результатов анализа:
N (НСl) · 2V1 (НСl)
m(Nа2 СО3 ) = 10 · — · Мэ (Nа2 СО3 ), г
1000
N (НСl) · [V2 (НСl) − 2∙V1 (НСl)]
m(NаНСО3 ) = 10 · — · Мэ (NаНСО3 ), г.
1000
Лабораторная работа №4
«Определение содержания соды в смеси с хлоридом натрия»
Хлорид натрия в водном растворе не подвергается гидролизу, поэтому рабочий раствор НСl будет реагировать только с Nа2 СО3. Реакция идет в две стадии (см. предыдущую работу) и ее завершение может быть зафиксировано с индикатором метиловым оранжевым. В этом случае fэкв (Nа2 СО3 ) = ½.
Подготовка к анализу
Получают задачу в виде смеси двух сухих солей. Рассчитывают навеску задачи, которую необходимо взять, учитывая, что на ее титрование должно затрачиваться от 5 до 7 мл рабочего раствора НСl (см. раздел 2.2.1). При расчете навески не учитывать присутствие в задаче примеси NаСl, т.к хлорид натрия не взаимодействует с НСl.
На аналитических весах взвешивают навеску смеси сухих солей, величина которой попадает в рассчитанный интервал. Навеску переносят в мерную колбу, растворяют в горячей (60-70ºС) дистиллированной воде, охлаждают, доводят до метки и тщательно перемешивают.
Методика анализа
Аликвотную часть раствора задачи переносят пипеткой в колбу для титрования, добавляют 1 капля метилового оранжевого и титруют рабочим раствором НСl до перехода желтой окраски в оранжевую. Результат титрования V1 (НСl) записывают в рабочую тетрадь.
Титрование повторяют 2-3 раза а рассчитывают среднее значение Vср (НСl), пошедшего на титрование аликвотной части задачи.
Расчет содержания соды в смеси проводят с учетом закона эквивалентов:
N (НСl) Vср (НСl)
m(Nа2 СО3 ) = 10 — · Мэ (Nа2 СО3 )
1000
m(Nа2 СО3 )
ω(Nа2 СО3 ) = — · 100 %
mн (Nа2 СО3 + NаСl)
Лабораторная работа №5
«Определение содержания щавелевой кислоты в смеси с хлоридом натрия»
Работа выполняется аналогично лабораторной работе №4. Щавелевую кислоту титруют рабочим раствором NаОН установленной концентрации. Для определения необходимо рассчитать интервал навески для щавелевой кислоты, пренебрегая присутствием хлорида натрия в задаче (хлорид натрия не взаимодействует с гидроксидом натрия). Определение проводят аналогично разделу 2.4. По результатам титрования рассчитывают содержание Н2 С2 О4 в задаче, выраженное в граммах:
N (NаОН) Vср (NаОН)
m(Н2 С2 О4 ) = 10 · — · Мэ (Н2 С2 О4 )
1000
m(Н2 С2 О4 )
ω(Н2 С2 О4 ) = — · 100 %
mн (Н2 С2 О4 + NаСl)
3. МЕТОДЫ ОКИСЛИТЕЛЬНО-ВОССТАНОВИТЕЛЬНОГО ТИТРОВАНИЯ
3.1. ПЕРМАНГАНАТОМЕТРИЯ
Рабочим раствором метода является перманганат калия KMnO4. Его окислительная способность зависит от условий реакции. Наибольшей окислительной способностью перманганат калия обладает к кислой среде (Еº MnO4− /Mn2+ = 1,51B). В этом методе индикатором служит сам титрант, так как перманганат-ионы окрашивают бесцветные растворы в розовый цвет даже при концентрации ~ 10−5 моль/л. Относительная погрешность определения за счет избытка рабочего раствора составляет 0,1-0,2%. Через 10-15 с окраска может исчезать вследствие разложения перманганата.
Рабочий раствор KMnO4 с точно заданной концентрацией нельзя приготовить путем растворения навески кристаллического вещества в мерной колбе, так как в препарате и дистиллированной воде всегда имеются примеси, вызывающие его разложение. Приготовленный раствор выдерживают несколько дней для окисления имеющихся примесей, отделяют от осадка MnО2 − катализатора разложения перманганата с выделением кислорода, и хранят, защищая от света и соприкосновения с веществами органического характера: резиновыми пробками, бумажными волокнами и пр. 0,1 н раствор KMnO4 требует стандартизации приблизительно 1 раз в 3 месяца.
Для стандартизации раствора KMnO4 в качестве стандартного вещества, чаще всего, применяют щавелевую кислоту (Н2 С2 О4 · 2Н2 О) или ее соль − оксалат натрия (Nа2 С2 О4 ). Реакцию с оксалатами проводят в серно-кислой среде при нагревании:
MnO4− + 8Н+ + 5ē → Mn2+ + 4Н2 О│2
Н2 С2 О4 − 2ē → 2СО2 + 2Н+ │5
Первые капли раствора KMnO4 обесцвечиваются довольно медленно. Затем реакция ускоряется образующимися ионами Mn2+ (автокатализ), и обесцвечивание происходит быстро. Каталитическое действие, по-видимому, вызвано тем, что ионы Mn2+ и MnO4− образуют активные соединения марганца промежуточных степеней окисления, облегчающих ступенчатое протекание реакции.
Благодаря высокой окислительной способности перманганата калия его стандартный раствор применяют для определения многих веществ.
3.2. Стандартизация раствора KMnO4
В основе определения лежит реакция:
5Nа2 С2 О4 + 2KMnO4 + 8Н2 SО4 = 2MnSO4 + 5Nа2 SО4 + К2 SО4 + 10СО2 ↑ + 8Н2 О
раб. р-р
В методе окислительно-восстановительного титрования фактор эквивалентности определяется количеством отданных или присоединенных электронов. Для оксалата натрия полуреакция окисления:
С2 О42− − 2ē → 2СО2 fэкв (Nа2 С2 О4 ) = ½
Подготовка к анализу
В чистую склянку для хранения растворов получают раствор перманганата калия с концентрацией ~ 0,05 мг-экв/мл. Полученный раствор необходимо хорошо перемешать. Бюретку промывают и заполняют полученным раствором. Из-за интенсивной окраски нулевой уровень раствора в бюретке устанавливают по верхнему мениску.
Интервал навески оксалата натрия рассчитывают по закону эквивалентов: q(Nа2 С2 О4 ) = q(KMnO4 ) (см. 2.2.1). Рассчитанную навеску взвешивают на аналитических весах и количественно переносят в мерную колбу, растворяют, доводят до метки и тщательно перемешивают.
Методика анализа
Аликвотную часть раствора задачи пипеткой переносят в колбу для титрования, туда же добавляют 5 мл серной кислоты в разбавлении 1: 4. Реакционная смесь нагревают до 70–80ºС (появление паров воды) и горячий раствор титруют рабочим раствором KMnO4. Сначала раствор из бюретки добавляют медленно, по каплям, добиваясь исчезновения окраски предыдущей капли перманганата калия. Заканчивают титрование в момент появления бледно-розовой окраски, неисчезающей при перемешивании в течение 1-2 минут. Результат титрования записывают в рабочую тетрадь. Определение проводят не менее трех раз, и по среднему результату на основании закона эквивалентов с учетом аликвотной части рассчитывают концентрацию раствора KMnO4 :
mн (Nа2 С2 О4 ) 1000
N (1/5 KMnO4 ) = ---------------------------------------
10 Vср (KМnO4 ) · Мэ (Nа2 С2 О4 )
Лабораторная работа №6
«Определение железа(II) и железа(III) при совместном присутствии с применением редуктора»
Прямым титрование перманганатом калия можно определить лишь Fе2+, выступающего в качестве восстановителя:
5Fе2+ + KМnO4 + 4Н2 SО4 = 5Fе3+ + MnSO4 + 4Н2 О + K+
раб. р-р
fэкв (Fе2+ ) = 1, fэкв (KМnO4 ) = 1/5
При титровании железа (II) раствором перманганата калия возможно протекание побочной «сопряженной» реакции между хлорид-ионами и перманганатом калия с выделением свободного хлора (Еº (Сl2 / 2Сl− ) = 1,36 В):
10Сl− + MnO4− + 8Н+ = Mn2+ + 5Сl2 ↑ + 4Н2 О
При комнатной температуре во многих случаях эта реакция с заметной скоростью не идет. Однако в присутствии ионов Fе2+ она каталитически ускоряется (индуцируется). Образовавшийся хлор реагирует с ионами железа (II), но частично он улетучивается, что приводит к повышенному расходу перманганата калия.
Для уменьшения погрешности определения в титруемый раствор перед началом титрования добавляют «защитную смесь» Рейнгарда − Циммермана (Н3 РО4, Н2 SО4 и MnSO4 ). Серная кислота нужна для повышения кислотности. Фосфорная кислота связывает в бесцветный комплекс ионы Fе3+, придающие раствору желтую окраску и затрудняющие наблюдение избытка перманганата в конце титрования. Ионы Мn2+ устраняют образование промежуточных соединений, участвующих в окислении хлорид-ионов.
Для определения содержащихся в анализируемом растворе ионов Fе3+ перманганатом калия необходимо предварительно восстановить их до Fе2+. Это можно осуществить с помощью редуктора, заполненного амальгамированным цинком:
2Fе3+ + Zn0→ 2Fe2+ + Zn2+
Амальгамированный цинк проявляет гораздо меньшую восстановительную способность катионов водорода в кислых растворах. Для амальгамирования цинка его гранулы обрабатывают раствором нитрата ртути(II). В результате реакции: Zn0+ Hg2+ → Zn2+ + Hg0каждая гранула цинка покрывается слоем элементарной ртути:
Hg0+ Zn2+ + 2ē → Zn(Hg).
Подготовка редуктора
Осуществляется в случае необходимости. В качестве редуктора используют делительную воронку, частично заполненную амальгамированным цинком. Редуктор с цинком дважды промывают раствором серной кислоты в разбавлении 1: 25 порциями по 10 мл. Каждый раз верхний штуцер делительной воронки закрывают пробкой, и смесь цинка с кислотой встряхивают. Промывной раствор отбрасывают в стакан для слива. При сливе промывной кислоты через кран редуктора следует соблюдать все меры предосторожности при работе с кислотами! Верхний штуцер делительной воронки при этом должен быть открыт.
Методика анализа
Полученную задачу в мерной колбе доводят до метки дистиллированной водой и тщательно перемешивают.
Аликвотную часть задачи переносят пипеткой в редуктор. Пробку редуктора тщательно закрывают и встряхивают редуктор с раствором задачи в течение ~ 5 мин. (до обесцвечивания раствора). При встряхивании кран пробку редуктора следует крепко придерживать обеими руками во избежание потери раствора задачи. По окончании восстановления трехвалентного железа пробку редуктора открывают и пробу аккуратно сливают в колбу для титрования через кран делительной воронки. Кран закрывают и дважды промывают редуктор раствором разбавленной (1:25) серной кислоты, добавляя ее порциями по 10 мл (поверхность цинка должна быть полностью закрыта). Каждую порцию промывного раствора добавляют в колбу для титрования. При работе с кислотой необходимо соблюдать все меры предосторожности! Затем в колбу для титрования с помощью цилиндра отмеряют 5 мл защитной смеси и титруют анализируемый раствор рабочим раствором КМnО4 до появления неисчезающей бледно-розовой окраски раствора от одной капли рабочего раствора. Полученный результат V1 (КМnО4 ), мл − записывают в рабочую тетрадь. Титрование суммарного содержания железа проделывают дважды и вычисляют средний результат.
Другую аликвотную часть задачи сразу переносят пипеткой в колбу для титрования, добавляют с помощью цилиндра 5 мл защитной смеси и титруют двухвалентное железо рабочим раствором КМnО4 до появления устойчивого бледно-розового окрашивания от одной капли КМnО4. Результат V2 (КмnО4 ), мл − записывают в рабочую тетрадь. Титрование двухвалентного железа проводят дважды и вычисляют средний результат.
По результатам титрования с учетом аликвотной части раствора и закона эквивалентов рассчитывают массу двух- и трехвалентного железа:
V2 (КМnО4 ) · N (1/5 КМnО4 )
m(Fе2+ ) = 10 · — · Мэ (Fе)
1000
[V1 (КМnО4 ) − V2 (КМnО4 )] · N (1/5 КМnО4 )
m(Fе3+ ) = 10 · — · Мэ (Fе)
1000
3.3. ЙОДОМЕТРИЯ
Рабочим раствором метода является раствор молекулярного йода I2 в йодиде калия, который увеличивает растворимость йода в воде:
I2 + I− = I3−
трийодид ион
Трийодид-ион является окислителем средней силы, который количественно реагирует со многими восстановителями.
Трийодид-ион и молекулярный йод в окислительно-восстановительных процессах ведут себя аналогично, поэтому при составлении уравнений реакций, пренебрегают присутствием в растворе I3−, рассматривая лишь I2. В основе йодометрического определения лежит полуреакция:
I2 + 2ē → 2I− Еº (I2 /2I− ) = 0,535В
fэкв (I2 ) = ½
Раствор йода готовят из навески приблизительной концентрации. Его точную концентрацию можно определить двумя способами: по навеске стандартного вещества оксида мышьяка (III) − способом прямого титрования, или с помощью второго рабочего раствора Nа2 S2 О3 − способом обратного титрования.
Многие восстановители, такие как тиосульфаты, сульфиды, арсениты и др., титруют стандартным раствором йода. Часто прямое титрование невозможно по причине каталитического ускорения реакции окисления определяемого восстановителя кислородом воздуха. В этом случае прибегают к обратному титрованию: к раствору восстановителя добавляют избыток рабочего раствора йода, а его непрореагировавший остаток титруют вторым рабочим раствором тиосульфата натрия Nа2 S2 О3 .
Сильные окислители определяют заместительным титрованием: к анализируемому раствору добавляют в избытке йодид калия и, если нужно, кислоту. При этом выделяется молекулярный йод в количестве, стехиометричном окислителю. Образовавшийся йод (заместитель) титруют рабочим раствором тиосульфата натрия. Прямое титрование сильных окислителей раствором Nа2 S2 О3 невозможно из-за образования разнообразных продуктов окисления.
Реакция йода с тиосульфатом имеет широкое применение в йодометрии:
I2 + Nа2 S2 О3 → 2NаI + Nа2 S4 О6
Она протекает быстро и стехиометрично при комнатной температуре в слабокислой среде или при рН < 9. При титровании сильнокислых растворов требуется интенсивное перемешивание, чтобы избежать разложения тиосульфата с образованием сернистой кислоты, которая реагирует с йодом, нарушая стехиометричность. В сильнощелочной среде протекают другие побочные реакции:
I2 + 2NаОН → NаIО + NаI + Н2 О;
3NаIО → NаIО3 + 2NаI;
Nа2 S2 О3 + 4I2 + 10NаОН → 2Nа2 SО4 + 8NаI + 5Н2 О,
которые искажают результаты титрования.
Раствор тиосульфата натрия точно заданной концентрации нельзя приготовить путем растворения навески промышленного препарата Nа2 S2 О3 ∙ 5Н2 О в мерной колбе. Состав препарата не отвечает точно указанной формуле, кроме того, свежеприготовленный раствор нестабилен. Основной причиной изменения его концентрации является деятельность тионовых бактерий, она усиливается при повышенной температуре и освещении. Наряду с этим тиосульфат натрия медленно реагирует с растворенной углекислотой и на свету − с кислородом воздуха:
Nа2 S2 О3 + Н2 О + СО2 → NаНСО3 + NаНSО3 + S↓
2Nа2 S2 О3 + О2 → 2Nа2 SО4 + S↓
Свежеприготовленный раствор тиосульфата натрия стерилизуют добавлением небольших количеств НgI2, хлороформа или амилового спирта, подщелачивают добавлением соды, защищают от света и выдерживают в течение 7-10 дней. Если раствор не стал мутным, то он устойчив и его стандартизуют.
Стандартизацию раствора тиосульфата натрия проводят с помощью стандартного вещества К2 Сr2 О7. При избытке КI и кислоты бихромат калия замещается стехиометричным количеством молекулярного йода q(К2 Сr2 О7 ) = q(I2 ), который затем титруют тиосульфатом натрия q(I2 ) = q(Nа2 S2 О3 ) и, следовательно, q(Nа2 S2 О3 ) = q(К2 Сr2 О7 ).
Реакция замещения протекает медленно, для ее ускорения берут значительный избыток реагентов. Выделившийся йод мало растворим в воде, но при избытке йодид-ионов образуется более растворимое соединение трийдид-ион, понижающий упругость паров йода (его летучесть).
Окраска раствора йода при малой концентрации недостаточно интенсивна для точного определения конца титрования. В качестве чувствительного индикатора применяют свежеприготовленный коллоидный раствор крахмала, который образует с молекулярным йодом адсорбционное соединение интенсивно-синего цвета. При титровании йода тиосульфатом индикатор вводят в конце титрования, когда концентрация йода мала. Адсорбционное соединение, образующееся при большой концентрации йода, медленно реагирует с тиосульфат-ионом и это приводит к повышенному расходу тиосульфата натрия. Стандартный раствор тиосульфата натрия проверяют каждые 1-2 месяца.
3.4. Стандартизация раствора тиосульфата натрия
В основе определения лежат следующие реакции:
K2 Cr2 O7 + 6KI + 7H2 SO4 = Cr2 (SO4 )3 + 4K2 SO4 + 7H2 O + 3I2
станд . в - во
I2 + 2Na2 S2 O3 = Na2 S4 O6 + 2NaI
раб . р - р
По уравнению реакции: n(Na2 S2 O3 ) = 6n(K2 Cr2 O7 ) = n(1/6 K2 Cr2 O7 )
Раствор бихромата калия Eº(Cr2 O72− /2Cr3+ ) = 1.33 В готовят по точной навеске в мерной колбе. Расчет интервала навески проводят согласно методике (см.раздел 2.2.1) исходя из приблизительной концентрации раствора Na2 S2 O3 = 0,05 мг-экв/мл.
Методика анализа
В колбу для титрования помещают 1 г йодистого калия, цилиндром отмеряют 5 мл 4 н серной кислоты и отмеряют пипеткой аликвотную часть приготовленного раствора бихромата калия.
Смесь в колбе для титрования перемешивают круговыми движениями до растворения йодида калия и для завершения реакции помещают на 5 мин в темное место.
Затем выделившийся йод титруют раствором тиосульфата натрия до получения светло-желтой (соломенной) окраски, к раствору добавляют пипетку раствора крахмала и продолжают титрование до исчезновения синей окраски.
По результатам трех титрований вычисляют средний объем Vср (Nа2 S2 О3 ), мл и вычисляют концентрацию раствора. Стандартизованный раствор тиосульфата натрия используют для определения точной концентрации рабочего раствора йода.
3.5. Стандартизация раствора йода
В основе определения лежит реакция:
I2 + 2Na2 S2 O3 = Na2 S4 O6 + 2NaI
раб . р - р 2- ой раб . р - р
По закону эквивалентов: q(I2 ) = q(Nа2 S2 О3 )
Методика анализа
В колбу для титрования из бюретки последовательно отмеряют 4,0; 5,0 и 6,0 мл раствора йода и титруют стандартизованным раствором тиосульфата натрия до появления светло-желтого окрашивания раствора, затем добавляют пипетку раствора крахмала и продолжают титрование до исчезновения синей окраски.
На основании полученных результатов по закону эквивалентов рассчитывают концентрацию раствора йода:
N (Nа2 S2 О3 ) V(Nа2 S2 О3 ) = N (I2 ) V(I2 )
Лабораторная работа №7
«Определение гексацианоферрат(II) калия»
Сущность определения заключается в способе обратного титрования: к аликвотной части задачи добавляют отмеренный избыток раствора I2. Его эквивалентное количество взаимодействует с определяемым веществом К4 [Fе(СN)6 ], а остаток титруют вторым рабочим раствором
Nа2 S2 О3, т.е. q(К4 [Fе(СN)6 ]) = q(I2 ) − q(Nа2 S2 О3 ).
Таким образом, данное определение основывается на следующих реакциях:
К4 [Fе(СN)6 ] + I2 = К3 [Fе(СN)6 ] + 2КI + I2
отмерен. остаток
избыток
I2 + 2Na2 S2 O3 = Na2 S4 O6 + 2NaI
остаток 2-ой раб.р-р
Методика анализа
Полученную задачу разбавляют в мерной колбе до метки дистиллированной водой и тщательно перемешивают. Аликвотную часть задачи пипеткой переносят в колбу для титрования и добавляют из бюретки 10 мл рабочего раствора йода. Так как отмеряют большой объем раствора йода, то необходимо отбирать пробу не спеша, чтобы исключить возможную ошибку натекания. Содержимое колбы перемешивают и помещают в темное место на 5 мин для завершения реакции. Избыток йода титруют рабочим раствором тиосульфата натрия, добавляя крахмал в конце титрования. Титрование заканчивают в момент исчезновения синей окраски. Объем тиосульфата натрия, ушедший на титрование пробы, записывают в рабочую тетрадь. Определение повторяют трижды и рассчитывают среднее значение объема Vср (Na2 S2 O3 ), мл. Результаты анализа выражают в граммах содержания К4 [Fе(СN)6 ] в задаче:
V(I2 ) ∙ N (I2 ) Vср (Na2 S2 O3 )∙ N (Na2 S2 O3 )
m(К4 [Fе(СN)6 ]) =10 ∙│ − -│∙Мэ (К4 [Fе(СN)6 ])
1000 1000
4. МЕТОДЫ ОСАДИТЕЛЬНОГО ТИТРОВАНИЯ
Методы осадительного титрования основаны на реакциях, сопровождающихся образованием малорастворимых соединений. Они классифицируются в зависимости от применяемого рабочего раствора:
нитрата серебра (АgNО3 ) − аргентометрия;
нитрат ртути (I) (Нg2 (NО3 )2 ) − меркурометрия;
нитрат ртути (II) (Нg(NО3 )2 ) − меркуриметрия;
роданид калия (аммония) КSСN (NН4 SСN) − роданометрия.
4.1. АРГЕНТОМЕТРИЯ
Раствор нитрата серебра готовят из точной навески перекристаллизованной соли АgNО3 (х.ч.). Но так как титр раствора АgNО3 изменяется при хранении, то его необходимо периодически проверять. Точную концентрацию раствора АgNО3 устанавливают по стандартному веществу NаСl (х.ч.).
4.2. Стандартизация раствора нитрата серебра методом Мора
Метод Мора − это способ фиксирования точки эквивалентности с применением индикатора хромат калия (К2 СrО4 ). Этот метод применим только для титрования в нейтральной или слабощелочной среде (рН = 6,5 ÷ 10,3), так как образующийся в результате реакции осадок Аg2 СrО4 растворяется в кислой среде из-за ассоциации хромат-анионов, а в щелочной среде образуется осадок Аg2 О. Ограничение метода связано с возможным присутствием в растворе мешающих ионов, образующих с хромат-анионами или с катионами серебра осадки (Ва2+, Рb2+, Вi3+, РО43−, АsО43−, С2 О42− и др.), восстановителей, способных восстановить СrО42− до Сr3+ комплексообразователей ионов серебра.
Метод Мора применим для определения серебра, хлоридов и бромидов. Определение йодидов и роданидов этим методом не производится, так как образующиеся осадки АgI и АgSСN адсорбируют ионы СrО42−, что мешает фиксированию точки эквивалентности.
В основе метода лежат реакции:
NаСl + АgNО3 → АgСl↓ + NаNО3
раб.р-р белый
АgNО3 + К2 СrО4 → Аg2 СrО4 ↓ + КNО3
изб.капля индикатор кирп.-кр.
По уравнению реакции и с учетом закона эквивалентов: q(NаСl) = q(АgNО3 ).
Для проведения анализа необходимо рассчитать интервал навески NаСl, предполагая, что на титрование аликвотной части этой навески расходуется от 5 до 7 мл рабочего раствора нитрата серебра. Концентрация раствора АgNО3 ~ 0,05 г-экв/л.
Рассчитанную навеску NаСl взвешивают на аналитических весах, переносят в мерную колбу, растворяют, доводят до метки и тщательно перемешивают.
Методика анализа
В колбу для титрования переносят аликвотную часть стандартного раствора NаСl, добавляют 1 капля 5 % раствора К2 СrО4 и титруют при энергичном перемешивании раствором АgNО3 до перехода желтой окраски суспензии в розовую (желтую окраску раствору придают хромат-ионы). Титрование повторяют трижды и рассчитывают значение Vср (АgNО3 ), мл. В процессе работы все отходы раствора АgNО3 сливаются в специальную емкость для отходов солей серебра. Растворы солей серебра вызывают химические ожоги, поэтому необходимо соблюдать осторожность при работе с ними. По данным титрования рассчитывают точную концентрацию раствора АgNО3 с учетом закона эквивалентов:
1000 mн (NаСl)
N (АgNО3 ) = ----------------------
10 Мэ (NаСl) Vср (АgNО3 )
4.3. Стандартизация раствора роданида аммония
Концентрацию раствора роданида аммония устанавливают по стандартизованному раствору АgNО3 методом Фольгарда. В этом методе точка эквивалентности фиксируется с помощью индикатора − раствора железоаммонийных квасцов (Fе(NН4 )(SО4 )2 12Н2 О), содержащим небольшое количество концентрированной азотной кислоты для подавления гидролиза. При избытке Fе3+ и малой концентрации SСN− наиболее устойчив комплексный анион [Fе(SСN)6 ]3−, окрашивающий раствор в интенсивно красный цвет.
Метод Фольгарда основан на реакции осаждения ионов серебра роданид-ионами. Растворы солей серебра титруют раствором NН4 SСN в присутствии индикатора. Если точка эквивалентности не достигнута, то концентрации ионов SСN− мала и образование комплексов [Fе(SСN)6 ]3− не происходит. При небольшом избытке ионов SСN− комплекс образуется и раствор над осадком приобретает оранжево-красную окраску:
АgNО3 + NН4 SСN → АgSСN↓ + NН4 NО3
раб.р-р 2-ой раб.р-р белый
NН4 SСN + Fе3+ = (NН4 )3 [Fе(SСN)6 ]
изб.капля индик. р-р оранжево-кр.
По уравнению реакции с учетом закона эквивалентов: q(АgNО3 ) = q(NН4 SСN).
Метод Фольгарда (прямое титрование) применяется для определения серебра. Для определения бромидов и хлоридов применяют способ обратного титрования с использованием двух рабочих растворов: NН4 SСN и АgNО3.
Методика анализа
В коническую колбу последовательно из бюретки отмеряют 4,0; 5,0 и 6,0 мл стандартизованного раствора АgNО3, цилиндром вносят 2 мл 6 н НNО3, разбавляют раствор, смывая все капли растворов внутрь колбы дистиллированной водой и добавляют 1 каплю раствора железо-аммонийных квасцов.
Титрование проводят раствором роданида аммония, постепенно приливая и резко встряхивая содержимое колбы, отделяя раствор от осадка. Вблизи точки эквивалентности роданид аммония добавляют по каплям, каждую каплю тщательно перемешивают и фиксируют изменение цвета раствора над осадком.
Титрование проводят трижды и рассчитывают три значения концентрации раствора NН4 SСN по которым вычисляют точную концентрацию раствора роданида аммония с учетом закона эквивалентов:
N (NН4 SСN) V(NН4 SСN) = N (АgNО3 ) V(АgNО3 )
Лабораторная работа №9
«Определение бромида калия методом Фольгарда»
В основе определения лежат реакции:
КВr + АgNО3 → АgВr↓ + КNО3 + АgNО3
отмер. изб. желт. остаток
АgNО3 + NН4 SСN → АgSСN↓ + NН4 NО3
остаток 2-ой раб.р-р белый
NН4 SСN + Fе3+ = (NН4 )3 [Fе(SСN)6 ]
изб.капля индик. р-р оранжево-кр.
Расчет содержание бромида калия осуществляется по уравнениям реакций с учетом закона эквивалентов:
q(КВr) = q(АgNО3 ) − q(NН4 SСN)
Методика анализа
В мерную колбу получают задачу, доводят до метки дистиллированной водой и тщательно перемешивают.
В коническую колбу для титрования пипеткой переносят аликвотную часть исследуемого раствора, с помощью бюретки отмеряют 10 мл раствора АgNО3, исключая возможную ошибку натекания, цилиндром отмеряют 5 мл 6 н раствора НNО3 и разбавляют раствор, смывая дистиллированной водой со стенок все капли раствора внутрь колбы для титрования.
Полученную смесь перемешивают и ждут, пока бромид серебра осядет на дно. Добавляют 1 каплю насыщенного раствора железо-аммонийных квасцов. Избыток АgNО3 титруют раствором роданида аммония до перехода окраски раствора над осадком в красно-розовый.
В рабочую тетрадь записывают объем NН4 SСN, ушедший на титрование.
Определение повторяют трижды и вычисляют значение среднего объема роданида аммония Vср (NН4 SСN), мл.
Результаты анализа выражают в граммах содержания КВr в задаче:
V(АgNО3 ) N (АgNО3 ) Vср (NН4 SСN) · N (NН4 SСN)
m(КВr) = 10 · │---------------------------- − ---------------------│·Мэ (КВr)
1000 1000
Лабораторная работа №10
«Потенциометрическое определение хлорид-, бромид- и йодид-ионов при совместном присутствии»
Потенциометрическое титрование, основанное на реакциях осаждения, применяется для определения серебра, а так же хлоридов, бромидов, йодидов, роданидов и сульфидов. В качестве титрующего раствора применяется рабочий раствор АgNО3. Электродом определения служит серебряный электрод − металлический индикаторный электрод I-го рода. Электродом сравнения служит хлорсеребряный электрод − металлический индикаторный электрод II-го рода.
Потенциометрический метод позволяет определить концентрации нескольких ионов при их совместном присутствии при условии, что отношение растворимостей образующихся при титровании серебряных солей должно быть не менее 40.
При добавлении раствора АgNО3 к исследуемому раствору, содержащему смесь хлорид-, бромид- и йодид-ионов, образуются осадки малорастворимых солей серебра. Значения произведения растворимости галогенидов серебра различно. ПРАgI = 10−16; ПРАgВr = 10−13; ПРАgСl = 10−10. При титровании вначале образуется осадок, у которого ПР имеет наименьшее значение (АgI), затем выпадает осадок АgВr, и последним осаждается АgСl. Осаждение АgI будет происходить до тех пор, пока произведение концентраций Аg+ и Вr− будет меньше значения их произведения растворимости: С(Аg+ ) · С(Вr− ) < ПРАgВr, где С(Вr− ) − концентрация ионов брома в исследуемом растворе. Осадок бромида серебра начнет образовываться, когда концентрация ионов серебра в растворе настолько возрастет, что С(Аg+ ) С(Вr− ) = ПРАgВr .
Концентрация ионов йода в точке эквивалентности зависит от концентрации ионов брома в исходном растворе. Чем выше концентрация ионов, тем больше будет ошибка при титровании. Если концентрации ионов брома и йода одинаковы, то ошибка титрования минимальна.
Аналогично в точке эквивалентности при осаждении бромида серебра ошибка титрования будет зависеть от концентрации ионов хлора в исходном растворе. Ошибка при титровании в точке эквивалентности будет мала, если концентрация ионов хлора в исследуемом растворе будет в 5 раз меньше концентрации ионов брома.
Методика анализа
В мерную колбу получают раствор задачи, в которую предварительно для уменьшения адсорбции ионов галогенидов на поверхности осадка было введено 25 мл 7 % раствора нитрата бария. Объем в колбе дистиллированной водой доводят до метки и тщательно перемешивают.
В стаканчик для титрования пипеткой вносят две аликвотные части раствора задачи, объем в стаканчике доводят до 50 мл дистиллированной водой и опускают туда серебряный электрод. При помощи солевых мостиков, содержащих насыщенные растворы КСl и КNО3 соединяют реакционный сосуд с хлорсеребряным электродом.
Схема гальванического элемента:
(−) Аg │АgI, I−, Вr−, Сl− ║ КNО3 ║ КСl ║ КСl, АgСl│ Аg (+)
серебр.эл-д исслед.р-р хлорсеребр.эл-д
Включают магнитную мешалку, отрегулировав скорость вращения, и измеряют ЭДС гальванического элемента с помощью иономера. ЭДС цепи определяется: Е = φ°АgНаl − φ°хлорсер. − 0,058 lg СНаl —
Теоретические основы потенциометрического титрования рас-сматриваются в разделе 6. Титрование осуществляют рабочим раствором АgNО3 с установленным титром, прибавляя его по 0,2 мл. Результаты измерения вносят в таблицу (см. раздел 6) и по полученным данным на миллиметровой бумаге строят интегральную зависимость Е = f(Vраб.р-ра ). По кривой определяют примерное положение точек эквивалентности. Для нахождения эквивалентных объемов строят дифференциальную кривую в координатах ∆Е/∆V от V'. Интегральная и дифференциальная кривые должны быть построены в одном масштабе. Дифференциальная кривая будет иметь три максимума. Проведя перпендикуляр от этих максимумов на ось абсцисс, находят значения трех эквивалентных объемов V1', V2' и V3' с точностью до 0,02 мл. Результаты анализа выражают в граммах галогенид-ионов в задаче:
V1’N (АgNО3 ) · Мэ (I) · Vк
m(I− ) = ---------------------------------
1000 2Vп
( V2' − V1' ) N (АgNО3 ) · Мэ (Вr) · Vк
m(Вr− ) = --------------------------------------------
1000 2Vп
( V3' − V2' ) · N (АgNО3 ) · Мэ (Сl) · Vк
m(Сl− ) = — , где
1000 2Vп
V1', V2', V3' − эквивалентные объемы, мл;
Vк − объем колбы, мл;
Vп − объем пипетки, мл.
5. МЕТОД КОМПЛЕКСОНОМЕТРИЧЕСКОГО ТИТРОВАНИЯ
Комплексонометрия − раздел титриметрического анализа, основанный на реакциях комплексообразования между определяемым ионом металла (М) и титрантом (комплексоном).
Катионы металла (М), содержащие вакантные d-орбитали, реагируют с донорами электронной пары − лигандами (L), образуя координационные соединения − хелаты . Хелатообразующий лиганд с двумя донорными группами, участвующими в образовании координационной связи, называется бидентатным; лиганд с тремя донорными группами − тридентатным и т.д.
Хелатообразование всегда протекает в одну стадию, тогда как при образовании комплекса образуется несколько промежуточных соединений.
В аналитических целях реакцию комплексообразования можно использовать, только если образуется комплекс типа МL состава 1:1, в котором к каждому металла присоединен один лиганд, поскольку для таких систем характерно наибольшее изменение значения рМ вблизи точки эквивалентности.
Наиболее широкое применение в комлексонометрии нашли комплексоны . Это полиаминокарбоновые кислоты, образующие с ионами металлов комплексные соединения: этилендиаминтетрауксусная кислота (ЭДТУ) − комплексон II и ее двунатриевая соль (ЭДТА), которую называют комплексон III или трилон Б:

Препарат в виде белого растворимого в воде порошка является кристаллогидратом состава Nа2 Н2 Т · 2Н2 О, где Т − анион ЭДТУ. ЭДТУ − слабая четырехосновная кислота (Н4 Т), характеризующаяся четырьмя ступенями диссоциации: рКI = 2,0; рКII = 2,67; рКIII = 6,16; рКIV = 10,26. Близкие значения рКI и рКII показывают, что отщепление первых двух протонов протекает легче, чем отщепление двух оставшихся.
Данная соль относительно хорошо растворима в воде и диссоциирует, как сильный электролит:
Nа2 Н2 Т → 2Nа+ + Н2 Т2−
Трилон Б взаимодействует со всеми катионами металлов II−IV аналитических групп. Реакции взаимодействия трилона Б с катионами металлов выражают уравнениями:
М2+ + Н2 Т2−
МТ2− + 2Н+
М3+ + Н2 Т2−
МТ− + 2Н+
М4+ + Н2 Т2−
МТ + 2Н+
Таким образом, ЭДТА реагирует с ионами металлов с образованием комплекса 1:1, независимо от заряда катиона. В результате реакции взаимодействия происходит замещение двух катионов водорода, поэтому fэкв (М) = ½.
Указанные равновесия зависят от рН раствора. Для обеспечения полноты протекания реакции значение рН поддерживают постоянным, применяя для этого соответствующий буферный раствор. Чем выше заряд иона металла, тем прочнее образующийся комплексонат и тем более кислая среда допускается в ходе титрования.
Водные растворы комплексона III и большинства комплексонатов металлов бесцветны. Конец титрования обычно определяют с помощью металлиндикаторов. Это органические вещества, образующие цветные комплексные соединения с определяемым катионом. Свободный индикатор и его комплекс с ионом металла окрашены неодинаково. Устойчивость комплекса индикатора с металлом должна быть высокой, но ниже устойчивости комплекса металла с комплексоном.
Раствор трилона Б готовят из высушенной при 80° С навески. Для определения точной концентрации раствора трилон Б используют стандартный раствор МgSО4, приготовленный из стандарт-титра или навеску металлического цинка, растворенную в соляной или серной кислоте.
5.1. Стандартизация раствора трилон Б
Для определения точной концентрации раствора трилон Б применяется стандартный раствор сульфата магния, приготовленный из стандарт-титра. Концентрация раствора МgSО4 = 0,01 моль/л. В качестве индикатора используется кислотный хромовый темно-синий. В основе определения лежат реакции:
1) образование комплекса катиона магния с индикатором:
рН ~ 9
Мg2+ + Нind2−
МgInd22− + 2Н+
синий винно-красн.
2) образование более прочного комплекса катиона магния с рабочим раствором трилон Б с выделением свободной формы индикатора:
рН ~ 9
МgInd22− + Nа2 Н2 Т
Nа2 МgТ + 2Нind2−
винно-красн. раб.р-р бесцв. синий
Методика анализа
В колбу для титрования последовательно из бюретки отмеряется 4,0; 5,0 и 6,0 мл стандартного 0,01 М раствора МgSО4, цилиндром отмеряется 5 мл аммиачного буферного раствора, добавляется 1 капля индикатора. Объем в колбе примерно вдвое разбавляется дистиллированной водой, смывая капли растворов со стенок внутрь колбы. Полученный раствор титруют трилоном Б до перехода винно-красной окраски раствора в синюю. Расчет концентрации раствора трилона Б производится на основе закона эквивалентов:
N (МgSО4 ) V(МgSО4 )
N (Nа2 Н2 Т) = ---------
V(Nа2 Н2 Т)
По трем значениям концентрации раствора трилон Б рассчитывается среднее значение концентрации этого раствора.
Лабораторная работа №11
«Определение содержания Аl3+ методом обратного титрования»
Метод определения основан на том, что в кислой среде катионы алюминия образуют с трилоном Б прочное комплексное соединение (lg β = 16,13). Для разрушения гидратной оболочки комплекса и увеличения скорости реакции образования комплексоната алюминия проводят кипячение раствора соли алюминия с трилоном Б, взятом в избытке. По окончании реакции избыток трилона Б оттитровывается стандарным раствором сульфата цинка. В качестве индикатора используется ксиленоловый оранжевый, который в слабокислом растворе (рН ~ 5) в присутствии уротропина (гексаметилтетраамина) имеет лимонно-желтую окраску. От избыточной капли раствора сульфата цинка окраска индикатора меняется на красно-розовую за счет образования комплекса цинка с индикатором.
В основе определения лежат следующие реакции:
рН ~ 5
Аl3+ + Н2 Т2−
АlТ2− + 2Н+ + Н2 Т2−
отмерен.изб. остаток
Н2 Т2− + ZnSО4
ZnТ2− + 2Н+
остаток 2-ой раб.р-р
ZnSО4 + Нind2−
ZnInd22− + 2Н+
изб.капля желт. красн.-роз.
По уравнению реакции и с учетом закона эквивалентов содержание алюминия определяется:
q(Аl3+ ) = q(Nа2 Н2 Т) − q(ZnSО4 ).
Методика анализа
В мерную колбу получают раствор задачи, доводят до метки дистиллированной водой и тщательно перемешивают. В колбу для титрования пипеткой переносят аликвотную часть задачи, добавляют из бюретки 10 мл рабочего раствора трилон Б и 3 мл 2 н раствора НNО3. Колбу накрывают стеклянной воронкой и раствор кипятят в течении 5 мин. Затем воронку над колбой ополаскивают дистиллированной водой, чтобы исключить потери раствора, и раствор охлаждают до комнатной температуры. В колбу для титрования добавляют 2 г предварительно взвешенного на технических весах уротропина. Содержимое колбы перемешивают круговыми движениями до растворения уротропина и добавляют на кончике шпателя ксиленоловый оранжевый. Смесь титруют вторым рабочим раствором ZnSО4 до перехода окраски индикатора из желтой в красно-розовую. Расчет содержания алюминия (III) в задаче проводят по среднему результату, полученному из данных титрования трех параллельных опытов:
N (Nа2 Н2 Т) · V(Nа2 Н2 Т) N (ZnSО4 ) · V(ZnSО4 )
m(Аl3+ ) = 10 ·│----------------------------- − --------│· Мэ (Аl)
1000 1000
Лабораторная работа №12
«Определение общей жесткости воды»
Наличие Са2+ и Мg2+ в природных водах определяет их жесткость. Различают карбонатную (временную) и некарбонатную (постоянную ). Первая обусловлена присутствием бикарбонатов (Са(НСО3 )2 и Мg(НСО3 )2 ), вторая − сульфатами (СаSО4 и МgSО4 ) или их хлоридами (СаСl2 и МgСl2 ). Карбонатную жесткость устраняют кипячением или прибавлением к воде гидроксида кальция:
Са(НСО3 )2 + Са(ОН)2 → 2СаСО3 ↓ + 2Н2 О
Постоянную жесткость устраняют прибавлением к воде соды:
СаSО4 + Nа2 СО3 → СаСО3 ↓ + Nа2 SО4
Сумма временной и постоянной жесткости воды составляет общую жесткость , выраженную мг-экв ионов Са2+ и Мg2+ на 1л воды.
В основе определения лежат реакции:
Мg2+ + Нind2−
МgInd22− + 2Н+
синий винно-красн.
Са2+ + Нind2−
СаInd22− + 2Н+
синий винно-красн.
рН ~ 9
(Са)МgInd22− + Nа2 Н2 Т
Nа2 (Са)МgТ + 2Нind2−
винно-красн. раб.р-р бесцв. синий
Методика анализа
Пробу воды в мерной колбе доводят до метки дистиллированной водой и тщательно перемешивают. В колбу для титрования пипеткой отмеряют аликвотную часть исследуемого раствора, добавляют 5 мл аммиачного буферного раствора, разбавляют дистиллированной водой, смывая капли растворов со стенок внутрь колбы, и 1 каплю хром темно-синего.
Смесь титруют стандартным раствором трилона Б до перехода окраски индикатора из винно-красной в синюю. Определение повторяют трижды и вычисляют значение среднего объема трилона Б Vср (Nа2 Н2 Т), мл.
Результаты определения выражают суммарным количеством миллиграмм-эквивалентов (q) ионов кальция и магния в одном литре исследуемой пробы:
Vср (Nа2 Н2 Т) · N (Nа2 Н2 Т) · 1000
q = — ,
Vп
где Vп − объем пипетки, мл.
6. ПОТЕНЦИОМЕТРИЧЕСКИЙ МЕТОД АНАЛИЗА
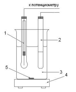
| 1. Индикаторный стеклянный электрод 2. Насыщенный хлорсеребряный электрод 3. Исследуемый раствор 4. Магнитная мешалка 5. Магнитный стержень |
Рис. 1. Ячейка для определения рН раствора

1. Индикаторный серебряный электрод. 2. Насыщенный хлорсеребряный электрод. 3. Исследуемый раствор. 4. Магнитная мешалка. 5. Магнитный стержень. 6. Бюретка с рабочим раствором AgNO3. 7. Мостики. 8. Штатив.
Рис. 2. Ячейка для определения галогенид-ионов.
Установка для потенциометрического титрования состоит из внешнего источника тока, чувствительного гальванометра (или постоянного усилителя), электролитической ячейки и регистрирующего прибора со шкалой в единицах рН или вольтах (см. рис. 1 и 2).
6.4. Правила работы на рН-метре-милливольтметре
В потенциометрическом титровании вместо потенциометров можно использовать рН-метры. рН-метр-милливольтметр типа рН-673М позволяет проводить анализ методом прямого потенциометрического титрования. Шкала прибора отградуирована в единицах рН или мВ и позволяет работать в диапазоне рН −1 ÷ 14 и в диапазоне потенциалов −1400 ÷ 1400 мВ.
Прибор готов к работе через 30 мин после включения в сеть.
Приступая к работе, необходимо тщательно промыть электроды дистиллированной водой, убедиться в правильности сборки электрохими-ческой цепи, а также в том, что электроды надежно закреплены и погружены в растворы, отрегулировать скорость вращения мешалки, чтобы исключить разбрызгивание раствора.
При малом объеме анализируемого раствора в стакан добавляют дистиллированную воду для того, чтобы концы электродов были погружены в раствор.
При отсчете показаний значений рН ориентировочные измерения проводят по нижней шкале прибора в диапазоне −1÷14.
На основании полученного предварительного значения рН точные измерения необходимо проводить в одном из узких диапазонов (−1÷4; 4÷9 или 9÷14), при этом отсчет проводят по верхней шкале.
При измерении потенциалов (+mV или −mV) также сначала ориентировочно оценивают величину потенциала по нижней шкале прибора, а при точном определении показаний по верхней выбранной шкале в соответствующем узком диапазоне, полученные значения умножают на 100.
6.5. Обработка результатов потенциометрического титрования
При проведении потенциометрического титрования по бюретке отмечают объем добавленного рабочего раствора (V, мл), а по шкале потенциометра (рН-метра-милливольтметра) полученные значения рН или потенциал (Е, мВ). Результаты титрования заносят в таблицу1 или 2.
Табл. 1
| № п/п V, мл рН ΔV, мл ΔрН ΔрН/ΔV V', мл |
| 1 2 3 4 5 6 7 |
1 0,00 2,06 2 0,20 2,10 0,20 0,04 0,08 0,10 3 0,40 2,15 0,20 0,05 0,10 0,30 4 0,60 2,22 0,20 0,07 0,14 0,50 … |
Табл. 2
| № п/п V, мл Е, мВ ΔV, мл ΔЕ, мВ ΔЕ/ΔV V', мл |
| 1 2 3 4 5 6 7 |
1 0,00 −206 2 0,20 −198 0,20 8 26,6 0,10 3 0,40 −188 0,20 10 33,3 0,30 4 0,60 −148 0,20 40 133,3 0,50 … |
В графу 2 таблицы записывают объем добавленного рабочего раствора (V, мл), в графу 3 − установившееся при этом значение рН или Е (мВ). В графы 4-7 записывают результаты обработки первичных экспериментальных данных. В графу 4 − разность объемов титранта между двумя последующими значениями 2-ой графы (шаг титрования); в графу 5 − разность показаний прибора между двумя последующими значениями графы 3; графа 6 − результат деления значения графы 5 на значение графы 4; в графу 7 (V', мл) помещают значения, рассчитанные как среднее арифметическое двух последующих значений графы 2.
Титрование считают законченным, когда после достижения максимальных значений ΔрН или ΔЕ прибавлено еще не менее трех порций рабочего раствора. По данным титрования строят на миллиметровой бумаге две кривые: в координатах «рН − V» или «Е − V» − интегральную кривую; в координатах " ΔрН/ΔV − V' " или " ΔЕ/ΔV − V' " − дифференциальную кривую. По дифференциальной кривой находят значение эквивалентного объема рабочего раствора (Vэкв, мл), которое используют для расчетов результатов анализа (рис.3).
Если в процессе титрования происходит последовательное титрование нескольких ионов (например, галогенидов раствором АgNО3 ), то на дифференциальной кривой будут наблюдаться несколько максимумов, каждому из которых будет соответствовать свой эквивалентный объем (рис.4). В этом случае предполагается, что титрование каждого последующего иона происходит лишь после полного осаждения предыдущего иона.

Рис. 3. Графики зависимости рН от объема добавленного титранта.
1 – Интегральная кривая 2 – Дифференциальная кривая

Рис. 4. Графики зависимости электродного потенциала от объема добавленного титранта.
1 – Интегральная кривая 2 – Дифференциальная кривая
ЛИТЕРАТУРА
1. Васильев В.П., Морозова Р.П., Кочергина Л.А. Практикум по аналитической химии. − М.: «Химия», 2000. − 327 с.
2. Пилипенко А.Т., Пятницкий И.В. Аналитическая химия. Т.I. − М.: «Химия», 1990. − 479 с.
3. Васильев В.П. Аналитическая химия. Т.I. − М.: «Высшая школа», 1989. − 319 с.
4. Алексеев В.Н. Количественный анализ. − М.: «Химия», 1972. −504 с.
5. Крешков А.П. Основы аналитической химии. Т.2. − М.: «Химия», 1976. − 480 с.
