Реферат: Физические методы дегазации воды
В технике водоподготовки для удаления газов (кроме кислорода) в основном применяют пленочные дегазаторы, а для обескислороживания воды — вакуумные дегазаторы или термические деаэраторы. Барботажные дегазаторы используют в исключительных случаях из-за их сравнительно высокой эксплуатационной стоимости (большой расход электроэнергии накомпрессию воздуха).
Самым совершенным типом дегазатора для глубокого удаления из воды свободного диоксида углерода (IV) считают пленочный дегазатор, загруженный кольцами Рашига. Он обеспечивает наиболее устойчивый эффект дегазации, долговечен, требует меньшей площади и высоты, а также меньшего расхода воздуха, чем дегазатор с деревянной хордовой насадкой. Строительная стоимость его близка к стоимости дегазаторов с деревянной насадкой, а эксплуатационная стоимость ниже, особенно для установок большой производительности. Наиболее целесообразно применять эти дегазаторы на крупных установках и при большом содержании свободного диоксида углерода (IV) в воде, поступающей в дегазатор.
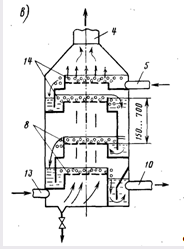
На рис. 19.2, а приведена схема пленочного дегазатора с насадкой из колец Рашига, размещаемой на промежуточной дырчатой перегородке, отстоящей от дна на расстоянии 600 мм. В поддон вентилятором подается воздух. Вода поступает в верхнюю часть дегазатора и равномерно распределяется по сечению плитой, имеющей 48 патрубков для слива воды в насадку и 8 патрубков с колпаками для выхода воздуха. Вода из поддонного пространства отводится через гидравлический затвор, высота которого h=1,2 Н (где Н — максимальный напор, развиваемый вентилятором, Па).
После пленочного дегазатора с кольцами Рашига и подачей воздуха вентилятором содержание диоксида углерода (IV) в воде составляет не более 3...5 мг/л. При удалении сероводорода этим методом следует подкислять воду (до рН=5) с последующим подщелачиванием ее до необходимого значения рН, это дает значительную экономию расхода воздуха.

Для удаления части свободной углекислоты из воды в процессе ее деманганации или обезжелезивания (в целях поднятия значения рН воды до оптимального) также наиболее целесообразно использовать дегазаторы, загруженные пластмассовыми или керамическими кольцами Рашига и работающие при подаче в них воздуха вентилятором или вакуумно-эжекционные аппараты. Применение вакуумных дегазаторов специально для удаления из воды свободной углекислоты целесообразно только в случаях Н—Na-катионного умягчения или ионитового обессоливания подземных вод, когда в обессоленной или умягченной воде лимитируется содержание кислорода. Вакуумные дегазаторы следует применять при необходимости предотвращения кислородной коррозии труб и аппаратуры (при подготовке воды для питания котлов и при обескислороживании воды в системах горячего водоснабжения) либо когда наличие растворенных газов в воде, в том числе и кислорода, является вредным для технологического процесса предприятия (на заводах СК). Для удаления из воды метана или свободного сероводорода также можно рекомендовать пленочные дегазаторы, загруженные пластмасовыми или керамическими кольцами. При водород—натрий—катионитовом умягчении или анитовом обессоливании подземных вод для удаления свободной углекислоты следует применять вакуумные дегазаторы во избежание насыщения их кислородом. При проектировании дегазаторов для удаления из воды свободной углекислоты должны быть заданы параметры: расходводы; концентрация свободной углекислоты в воде, и желательное остаточное содержание свободной углекислоты в воде после дегазатора; наинизшая (расчетная) температура обрабатываемой воды.


Рис. 19.2. Пленочный (а), вакуумный (б) и пенный (в) дегазатор:1 — вентилятор; 2 — насадка из керамических колец Рашига; 3 — газоотводной патрубок; 5, 10 — ввод исходной и отвод дегазированной воды; 7— оросительные патрубки; 4 — удаление воздуха; 9 — поддон; 8 — дырчатое днище; 6 — водораспределительная воронка; 11 — люк; 12 — патрубки для водомерного стекла; 13 — ввод воздуха; 14 — пенный слой

Концентрация свободной углекислоты в воде, подлежащей дегазации, не всегда указывается в анализе. Ее можно определить следующим образом. При дегазации воды после Н-катионитовых фильтров суммарное количество углекислоты будет равно:
![]()
где Жк — карбонатная жесткость исходной воды, мг-экв/л; Снач — содержание свободной углекислоты в исходной воде, мг/л, определяемое по номограмме (рис. 19.3). Первый член формулы учитывает свободную углекислоту, образующуюся при распаде бикарбонатов.
Номограмма составлена для плотного растворенного остатка воды 20 мг/л и при температуре ее 22°С. При иных значениях температуры и плотного остатка
![]()
где Сном — содержание свободной углекислоты, найденное по номограмме (рис. 19.3); а — поправка на температуру; р — поправка на плотный растворенный остаток.
| Температура, °С | 5 | 10 | 15 | 20 | 25 | 30 | |
| α | 1,65 | 1,44 | 1,29 | 1,16 | 1,06 | 1,00 | 0,95 |
| Плотный растворенныйостаток, мг/л | 20 | 50 | 100 | 200 | 300 | 400 | 500 |
| β | 1,00 | 0,97 | 0,94 | 0,90 | 0,88 | 0,86 | 0,84 |
При отсутствии в анализе данных о значении рН и щелочности воды концентрацию свободной углекислоты в исходной воде (в мг/л) можно ориентировочно определять по формуле:
![]()
При дегазации воды в цикле обезжелезивания воды аэрацией
![]()
где СFe — содержание железа (П) в обезжелезиваемой воде, мг/л. Первый член формулы учитывает свободную углекислоту, выделяющуюся при гидролизе железа.
Декарбонизаторы с насадкой из колец Рашига обладают большой удельной поверхностью, малой массой в единице объема, значительным свободным объемом.
Кольцо Рашига (табл. 19.1) представляет собой полый керамический цилиндр с равными высотой и наружным диаметром.
Таблица 19.1

Для уменьшения высоты дегазатора выгоднее применять кольца более мелкого размера, так как единица объема насадки из таких колец имеет большую поверхность. Для загрузки дегазаторов наиболее часто применяют кольца размером 25*25*3 мм, так как общее сопротивление насадки из таких колец при наиболее неблагоприятных условиях работы аппарата не превышает значения напора, развиваемого центробежными вентиляторами среднего давления обычного типа.
Площадь поперечного сечения дегазатора, загруженного кольцами, следует принимать исходя из удельной нагрузки 60 м3/(м2 *ч). Удельный расход воздуха в этом случае должен приниматься равным 15 м3/м3. Исходя из этой плотности орошения насадки и удельного расхода воздуха, в табл. 19.2 даны некоторые расчетные параметры.
Таблица 19.2

Необходимую поверхность насадки (колец) находят по формуле (19.7), значение Кт — по графику на рис. 19.4, а, ΔСср — по графику на рис. 19.5.
Помимо площади поверхности насадки, нужно учитывать площадь внутренней поверхности самого аппарата, которая составляет около 7,5% от площади поверхности насадки.
При подсчете напора, развиваемого вентилятором, сопротивление колец размером 25*25*3 мм при плотности орошения 60 м3/(м3 *ч) и при удельной подаче воздуха 15 м3/м3 можно принимать 30 мм вод. ст. на 1 м высоты загрузки.
К дегазаторам, применяемым при обезжелезивании воды аэрацией, относятся пленочные дегазаторы с загрузкой кольцами Рашига или пластмассовыми кольцами, работающими в Условиях противотока воды и воздуха, подаваемого вентилятором. При известной щелочности исходной воды концентрация свободной углекислоты в ней, соответствующая рН=7,0, может быть найдена по номограмме (см. рис. 19.3). Зная исходное содержание свободной углекислоты в воде и определив по указанной номограмме концентрацию свободной углекислоты (рН=7,0), можно найти количество углекислоты, которое должно быть удалено из воды как разность концентраций начальной и оптимальной, соответствующей значению рН=7,0. Одновременно необходимо удалить дополнительное количество свободной углекислоты, которое образуется при гидролизе бикарбоната, железа, так как наличие ее в воде может препятствовать повышению рН до требуемого предела. Согласно стехиометрическому расчету количество свободной углекислоты составляет 1,57 мг на 1 мг железа (II), содержащегося в исходной воде.

Рис. 19.4. Графики для нахождения KжCO2 в зависимости от tºС при плотности орошения насадки 40 м3 /(м2 *ч) (а) и 60 м3 /(м2 *ч) (б) для колец 25*25*3 мм
Следовательно, суммарное расчетное количество свободной углекислоты, подлежащей удалению из воды, может быть определено по формуле:
![]()
где С — количество свободной углекислоты, которое -должно быть удалено из воды, мг/л; СFe — количество железа (II) в обезжелезиваемой воде, мг/л; Снач — начальная концентрация свободной углекислоты в обезжелезиваемой воде, мг/л; Сопт — содержание свободной углекислоты, соответствующее оптимальному значению рН=7,0 при данной щелочности воды (находится по номограмме рис. 19.3), мг/л.
Очевидно, что остаточное содержание свободной углекислоты после дегазатора будет:
![]()
При этом вопрос о достаточном насыщении воды кислородом воздуха может не рассматриваться, так как при удалении из воды необходимого количества свободной углекислоты всегда обеспечивается ее насыщение кислородом, вполне достаточное для полного окисления железа (И).

Рис. 19.5. Графики для нахождения ΔСср в зависимости от Свх и Свых .
Площадь поперечного сечения дегазатора, работающего с принудительной подачей воздуха, определяется исходя из плотности орошения насадки 90 м3/(м2 *ч) (для насадки из пластмассовых или керамических колец). Удельную подачу воздуха следует принимать равной 4 м3 /м3 .
Значение ДСср при расчете дегазаторов, применяемых для обезжелезивания воды аэрацией, можно определять по формуле А. А. Кастальского:
(19-7)
в кг/м3; величина Кж находится по графикам рис. 19.6.

Рис. 19.6. Графики Kж =f(t) для различных насадок при плотности орошения 90 м3 /(м2 *ч)
1 — для колец Рашига размером 25*25*3 мм; 2 — для гравия средним размером 42 мм; 3 — для кокса средним размером 43 мм; 4 — для кокса средним размером 41 мм
В гл. 1 указывалось, что сероводородные соединения, содержащиеся в воде, могут состоять из свободного сероводорода (H2 S), гидросульфидного иона (HS~) и сульфидного иона (S2 ~). При рН воды <5 все сульфидные соединения в воде присутствуют в виде свободного сероводорода. Поэтому практически полное их удаление возможно лишь при предварительном подкислении исходной воды или в том случае, когда удаление сероводорода объединяется с удалением свободной углекислоты в цикле Н—Na-кэтионитового умягчения или ионитового обессоливания воды. Без подкисления воды из нее можно удалить лишь то количество сульфидных соединений, которое присутствует в виде свободного сероводорода при данном значении рН воды. Это обеспечивает дезодорацию воды, но не устраняет ее коррозионные свойства.
Расчет дегазаторов для удаления из воды свободного сероводорода следует производить исходя из следующих данных. Площадь сечения дегазатора следует определять с учетом плотности орошения насадки (кольца размером 25*25*3 мм) 60 м3 /(м2 *ч). Удельная подача воздуха — 12 м3/м3. Значение ΔСср следует определять по формуле (19.7), а значение Kж — по формуле (19.8)
(19.8)
где А — площадь поперечного сечения дегазатора, м2; z— растворимость сероводорода в воде, кг/м3, при данной температуре и парциональном давлении сероводорода 0,1 МПа (по рис. 19.7). Значения А и А0,324 приведены в табл. 19.3.
Формула (19.8) действительна при плотности орошения насадки 60 м3/(м2 *ч), удельном расходе воздуха 12 м3/м3 и при насадке из колец Рашига размером 25X25X3 мм.
Исследованиями С. Н. Линевича установлено, что при использовании пенной дегазации и закрытой аэрации можно повысить эффект удаления сероводорода из воды на 20… ...25%.
На рис. 19.2, б приведена схема вакуумного дегазатора.
При дегазации воды барботированием воздуха через слой воды также создается большая поверхность соприкосновения жидкой и газообразной фаз; тем самым ускоряется выделение газа. Воздух подается компрессорами обычно через дырчатые трубы или пористые плиты. В зависимости от требуемой степени дегазации воды барботажные дегазаторы применяют одно- или двухсекционные с последовательным пропусканием воды.
Разновидностью барботажных дегазаторов являются дегагаторы пенноготипа (рис. 19.2, в).

Рис. 19.7. Растворимость сероводорода в воде в зависимости от ее температуры при его парциальном давлении 0,1 МПа.
пленочный дегазатор вода деаэратор
Основным конструктивным элементом аппаратов служит перфорированная пластина (решетка). Вода тонким слоем протекает вдоль решетки и под действием поперечного тока воздуха, подаваемого через ее отверстия, вспенивается. В пенном слое газы из воды десорбируются интенсивно. При удалении диоксида углерода(IV) и расходе воды около 100 м3/ч дегазаторы пенного типа наиболее экономичны. При использовании аппаратов этого типа степень десорбции целесообразно ограничить 96… 97% с тем, чтобы количество полок не превышало четырех-пяти. При этом для подачи воздуха можно применять центробежные вентиляторы среднего давления.
Таблица 19.3
| Производительность дегазатора, М3 /Ч | А, м2 | А0.324, м2 |
| 10 | 0,167 | 0,56 |
| 20 | 0,334 | 0,70 |
| 30 | 0,501 | 0,80 |
| 40 | 0,668 | 0,88 |
| 50 | 0,835 | 0,94 |
| 75 | 1,25 | 1,07 |
| 100 | 1,67 | 1,18 |
| 150 | 2,50 | 1,35 |
| 200 | 3,34 | 1,48 |
| 250 | 4,17 | 1,59 |
| 300 | 5,01 | 1,68 |
| 350 | 5,83 | 1,77 |
| 400 | 6,68 | 1,85 |
| 450 | 7,50 | 1,92 |
| 500 | 8,35 | 1,99 |
| 600 | 10,0 | 2,11 |
| 700 | 11,7 | 2,22 |
| 800 | 13,4 | 2,32 |
| 900 | 15,0 | 2,40 |
| 1000 | 16,7 | 2,49 |
Вакуумные дегазаторы выполняют стальными круглыми (в плане), с конусным днищем (рис. 19.2,6). Над конусным днищем располагается дырчатый лист (с отверстиями диаметром 15… 20 мм) или решетка, которая является опорой для колец Рашига. Вода внутрь дегазатора подается устройством, обеспечивающим тонкое распыление и равномерное распределение ее по поверхности насадки. В качестве такого распределителя воды рекомендуется устройство, аналогичное распределителю соляного раствора в стандартных натрий-катионитовых фильтрах.
Для наблюдения за уровнем воды в дегазаторе устанавливают водомерное стекло. Парогазовая смесь отводится из дегазатора вакуумным устройством, в качестве которого могут быть использованы вакуум-насосы, паро- и водоструйные эжекторы.
Наиболее полная дегазация достигается разбрызгиванием в вакууме с одновременным подогревом воды. На рис. 19.8 изображена схема установки для дегазации в вакууме с подогревом и без подогрева воды.
Выбор типа дегазатора определяется производительностью установки, необходимой полнотой дегазации, начальной концентрацией удаляемого газа и другими условиями.

Рис. 19.8. Установки дегазации воды под вакуумом без подогрева ( и с подогревом (б)
1,5 — подача исходной и отвод дегазированной воды; 2 — воздухоотделитель; 3 — котел; 4 — вакуум-насос; 6 — насос; 7 — подача пара; 8 — теплообменник; 9 — сборный бак
Для глубокого или частичного удаления оксида углерода (IV) (независимо от его начальной концентрации и производительности установки) и свободного сероводорода применяют дегазаторы с насадкой из колец Рашига и противотоком воды и воздуха.
Для удаления оксида углерода (IV) при производительности установки до 150 м3/ч и начальном его содержании не более 150 мг/л используют дегазаторы с деревянной хордовой насадкой или дегазаторы пенного типа. При глубоком удалении оксида углерода (IV) и производительности до 20 м3 /ч применяют барботажные дегазаторы.
В случае частичного удаления оксида углерода(IV) при производительности установки до 50 м3 /ч используют струйно- пленочные (контактные) градирни, а для глубокого или частичного обескислороживания воды — вакуумные установки с насадкой из колец Рашига с подогревом или без него.
При проектировании дегазаторов должны быть определены: площадь поперечного сечения дегазатора; необходимый расход воздуха и поверхность насадки для достижения требуемой степени дегазации. Площадь поперечного сечения дегазаторов вычисляют по допускаемой плотности орошения насадки, т. е. по расходу воды, приходящемуся на 1 м2 площади поперечного сечения дегазатора.
По А. А. Кастальскому, допустимые плотности орошения насадок и удельные расходы воздуха составляют: при глубоком удалении из воды оксида углерода (IV) — до 2… 3 мг/л; на дегазаторах, загруженных кольцами Рашига (25X25X3 мм), — 60 м3/(м2 *ч) и 15 м3 /м3; на дегазаторах с деревянной насадкой — соответственно 40 м3/(м2 *ч) и 20 м3 /м3; при глубоком удалении из воды сероводорода на дегазаторах загруженных кольцами Рашига, — 40 м3 /(м2 *ч) и 20 м3 /м3; при обескислороживании воды на вакуумных дегазаторах плотность орошения насадки равна 50 м3/(м2-ч).
Остаточное содержание оксида углерода(IV) после вентиляторной градирни при температуре 5...8°С можно принимать 3...5 мг/л, после контактной градирни — 5… 8 мг/л.
Полное обескислороживание воды может быть достигнуто методом, предложенным П. А. Акользиным. Сущность его заключается в том, что эжектор, подающий воду, из которой необходимо удалить кислород, подсасывает предварительно обескислороженный воздух. Под влиянием разности концентрации растворенный в воде кислород переходит из жидкой фазы в газообразную. Газ отделяется от воды в специальном десорбере и затем в сепараторе. Обескислороживание воздуха происходит в герметичном реакторе, загруженном древесным углем и омываемом топочными газами с температурой 500… 800 °С. Однако применение этого метода ограничивается тем, что для обескислороживания воздуха, подсасываемого эжектором, необходимы топочные газы высокой температуры, т. е. наличие котельной. Кроме того, в дегазаторе не удается одновременно с обескислороживанием воды обеспечить необходимую степень удаления оксида углерода (IV).
Метод удаления сероводорода аэрированием представляет собой комбинирование аэрирования с биохимическим окислением сероводорода серобактериями. Аэратор содержит шлаковую загрузку. Интенсивность орошения при концентрации сероводорода 40...42 г/м3 составляет 3...4 м3/(м2-ч), расход воздуха — 20...30 м3/м3; конечная концентрация сероводорода — 0,3… 0,4 мг/л. После аэроокисления требуется фильтрование.
Распространенным методом удаления из воды сероводорода является аэрирование (65...70%). Оптимальные условия аэрирования характеризуются определенным соотношением воздуха и воды, избыточное количество воздуха не увеличивает эффективности удаления из воды сероводорода. При аэрированииудаляется сероводород, находящийся в молекулярной форме, и частично окисляется. Полное удаление сероводорода аэрированием возможно лишь при подкислении воды до рН<5. В таких условиях высокая концентрация водородных ионов подавляет диссоциацию сероводорода, поэтому большая часть его будет находиться в молекулярной форме, которая легко удаляется аэрированием. Высокая степень дегазации воды (до предела растворимости при данной температуре) достигается в вакуумно-эжекционном аппарате (см. рис. 17.4), предложенном И. Г. Комарчевым. В вакуумной камере аппарата при больших скоростях движения дегазируемой воды происходит ее мгновенное вскипание, сопровождаемое десорбцией растворенных газов. Результаты внедрения вакуумно-эжекционного аппарата в, технологии обезжелезивания и деманганации природных во в технологии ионитового умягчения и обессоливания воды и казали не только его высокую эффективность, но и целесообразность замены им вентиляторных градирен.
Литература
Алексеев Л. С., Гладков В. А. Улучшение качества мягких вод. М.,
Стройиздат, 1994 г.
Алферова Л. А., Нечаев А. П. Замкнутые системы водного хозяйства промышленных предприятий, комплексов и районов. М., 1984.
Аюкаев Р. И., Мельцер В. 3. Производство и применение фильтрующих
материалов для очистки воды. Л., 1985.
Вейцер Ю. М., Мииц Д. М. Высокомолекулярные флокулянты в процессах очистки воды. М., 1984.
Егоров А. И. Гидравлика напорных трубчатых систем в водопроводных очистных сооружениях. М., 1984.
Журба М. Г. Очистки воды на зернистых фильтрах. Львов, 1980.